Медицина: Медицинская энциклопедия: Катушка Мишина
Более ста лет человечество широко масштабно использует электрическую энергию. Произведено громадное количество всевозможных устройств, которые постоянно находятся непосредственно рядом с нами, но не в одном из учебников не дается точного физического описания самого источника энергии — электрического тока. При этом мы почти не задумываемся о простейшей биологической безопасности на ши х устройств, и, как показало время, абсолютно напрасно. За последние десятилетия произошло резкое увеличение всевозможных патологий внутренних органов человека, интенсивное развитие раковых и множества совершенно новых заболеваний, перед которыми традиционная медицина бессильна. Причиной всего этого является не столько загрязнение окружающей среды, сколько непонимание физических процессов во всех наших устройствах основанных на электромагнетизме.
Физика процессов
Если коснуться физики процессов, то в природе все выполняется на основе закона сохранения импульса, или, если сказать проще — невозможно совершить действие, не имея точки опоры, а в момент его совершения и объект, и опора получат одинаковое механическое воздействие. Если же это рассмотреть с точки зрения вихревых процессов, то получается, что создавая стандартным способом любые электромагнитные взаимодействия, мы опираемся на поперечную электростатическую (электрическую) плоскость. Наша биологическая жизнь сейчас помещена в среду, где происходят постоянные пульсации от всех наших устройств, которые непрерывно оказывают воздействие на молекулярные структуры. Основным воздействием электростатики является прямая механическая работа по увеличению частоты вращения (подкручивания) вихревых оболочек молекул и их групп. В результате происходит их избыточное энерго насыщение, приводящие к образованию более крупных кластеров. Данное явление можно условно сравнить с образованием «шариков» металла после сварки, либо применительно к самому сварочному шву. Получается, что резко возросшая прочность новых образований связана с зацикливанием структуры по электромагнитной оси молекулярной структуры. Дальнейшее воздействие на такие структуры механическими (ударными) способами малоэффективно. Аналогично происходит и в организме человека. Многие закольцованные молекулярные структуры не поддаются медикаментозному лечению в связи с повышенной их «прочностью». Однако такие образования в организме приводят к формированию опухолей из-за своей избыточной энергетики (гиперактивности), либо к блокировке каких-либо других функций организма.
Решение данной проблемы находится именно в области электростатики. Повышение энергетики процессов связано с уменьшением плотности среды между молекулярными кластерами, что и приводит к их устойчивости. Необходимо обеспечить приток среды внутрь кластера чтобы создать эффект размагничивания. Далее среда сама заполнит межмолекулярное пространство, что резко ослабит такие вихревые связи. Самый простой способ это сделать — создать зону пониженной плотности среды с помощью электростатического имплозивного резонанса. На физическом уровне это явление всасывания (падения) среды в зону пониженной плотности. Этот процесс можно создать с помощью простой межвитковой емкости. Есть лишь основное отличие между привычными для нас конденсаторами и тем, что мы должны сделать. В первом случае мы пытаемся наращивать емкость, сводя к минимуму индуктивность конденсатора, а во втором создаем минимальную емкость, но с максимальной индуктивностью, при этом индуктивность самих обкладок во время работы должна стремиться к нулю. Создав такую емкость, мы получаем полную противоположность стандартному конденсатору, она не накапливает «заряд», а раскручивает два электростатических вихря (стоячая волна), сверху и снизу относительно зоны экватора. Работа в таком режиме возможна только в определенном диапазоне частот, который обусловлен только геометрией самой емкости. Сильное отклонение от рабочей частоты резко снижает проводимость емкости и соответственно формирование электростатики. В номинальном же режиме работы, формируется две зоны снижения плотности среды относительно экватора, после чего происходит электростатическое всасывание в центр устройства. По своей сути этот процесс почти не отличается от привычной нам «гравитации», имея лишь малый радиус действия всего 2-3 метра. Пропускаемая мощность через такую емкость зависит от подаваемого напряжения. Для оздоровительных целей вполне хватает мощности стандартных генераторов частоты с напряжением выхода 12-24 вольта и током не превышающим 100-200мА.
www.newcom.cv.ua — Генератор ВЧ (2-160 Мгц)
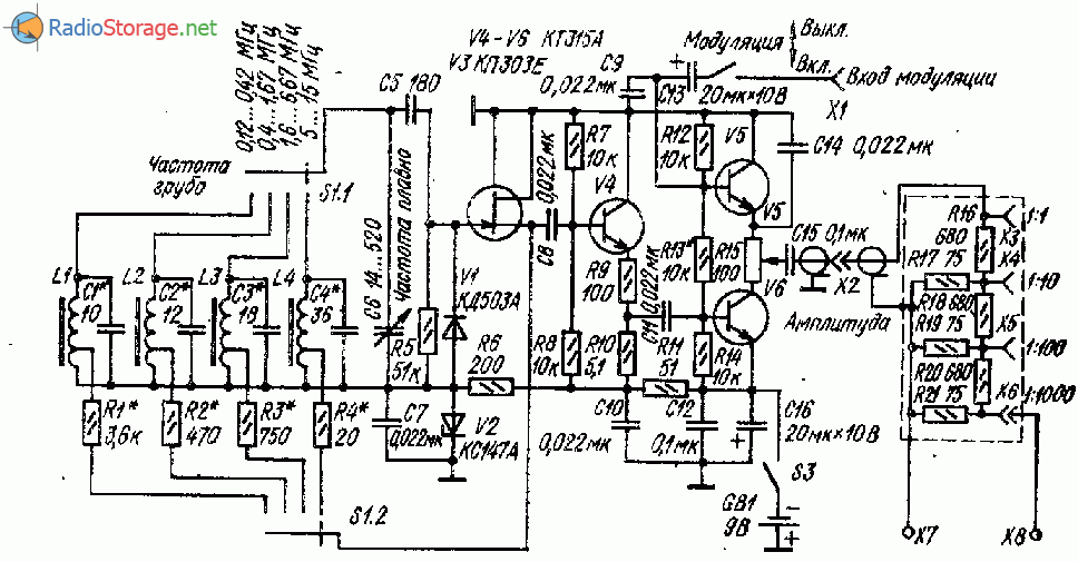
Подробности Опубликовано 01.01.2013 11:59 Генератор ВЧ работает в диапазоне частот от 2 Мгц до 160 Мгц. Предназначен для проведения работ по настройки высокочастотной радиоаппаратуры, в том числе приемников, передатчиков, трансиверов, радиомикрофонов, устройств дистанционного радиоуправления и т.д.
Для более точного задания частоты, основной диапазон частот разбит на шесть поддиапазонов — четыре в диапазоне КВ и два в диапазоне УКВ.

Уровень выходного напряжения регулируется ступенчато с помощью антенюатора в пределах 1 mV, 10mV, 100 mV и 1 V.
Схема генератора ВЧ очень простая в повторении и состоит из трех основных модулей :
1. Высокочастотного автогенератора собранный по схеме индуктивной трехточки на индуктивностях и транзисторе VT1 KT345. Параметры индуктивностей L1- L6, для поддиапазонов указаны в таблице.
| Номер катушки | Поддиапазон Мгц | Индуктивность мкГн | Диаметр провода | Число витков | Способ намотки |
| L1 | 2-5 | 106 | 0,2 | 90 | Виток к витку. Рядовая. Диаметр каркаса 8 мм с ферритовым сердечником.
Отвод — от 30 витка. |
| L2 | 5-10 | 17 | 0,3 | 50 | Виток к витку. Рядовая. Диаметр каркаса 8 мм с ферритовым сердечником. Отвод — от 17 витка. |
| L3 | 10-20 | 4,3 | 0,4 | 30 | Виток к витку. Рядовая. Диаметр каркаса 8 мм с ферритовым сердечником. Отвод — от 10 витка. |
| L4 | 20-50 | 1,2 | 0,6 | 15 | Виток к витку. Рядовая. Диаметр каркаса 8 мм с ферритовым сердечником. Отвод — от 50 витка. |
| L5 | 50-90 | 0,18 | 0,8 | 6 | Шаг 1,3 мм.
|
| L6 | 90-160 | 0,055 | 1,0 | 2 | Шаг 2,5 мм. Рядовая. Диаметр каркаса 8 мм без ферритового сердечника. Отвод — от 1 витка. |
Конденсатор СЗ предназначен для грубой настройки , С4 — для точной. Калибровать автогенератор удобнее с помощью цифрового частотомера. Значения частоты в Мгц-ах наносятся на шкале С3 для каждого поддиапазона.
2. Усилитель ВЧ, выполненного на транзисторах VT2 и VT3 КТ361.
3. Модулятор — построенный на базе RC генератора на VT4 КТ315 с частотой колебаний в районе 1 кГц. С помощью выключателя SB2 он может быть при желании отключен.
Питание генератора ВЧ — стабилизированное 12 В.
Какой помощней сделать усилитель для генератора мишина. Схемы генераторов для лечения катушками мишина. Показатель эффективной частоты катушки
1. Купить готовый генератор синуса для лечебных катушек Мишина. По Украине любой транспортной компанией. В Россию и в другие страны отправка почтой. Далее
2. К174ГФ2 (XR2206) + TDA7052A
- XR2206 — генератор синусоиды, питание: 10. 26 Вольт. Амплитуда выхода синусоиды 60 мВ.
- TDA705 2 A — усилитель, питание 4.5. 18 В, мощность 1 Вт, до 300 кГц. (слабенькая)
3. К174ГФ2 (XR2206) + TDA705 6 A (TDA705 6 B)
Генератор синусоиды на микросхеме К174ГФ2 (XR2206) и усилитель на TDA7056A(B) — минимум обвязки, питание 12 вольт. TDA7056A(B) размещаем на радиаторе. Питать можно до 18 вольт. Есть искажения синусоиды. TDA7056A (B) 4.5-18 В, 3.5 Вт, до 300 кГц. Чем выше частота тем слабей усиление и больше нагрев микросхемы. TDA7056A(B) обязательно размещать на радиаторе.
4. К174ГФ2 (XR2206) + TDA7495 (2 X 11 Вт — до 600 кГц )
5. К174ГФ2 (XR2206) + LM1875T или TDA7265 и т.д.
6. К174ГФ2 (XR2206) + TCA0372DP1G
Генератор синусоиды на микросхеме К174ГФ2 ( XR2206 ) и усилитель TCA0372DP1G. Если двух полярное питание, то понадобиться минимум обвязки.
7. Генератор синуса + усилитель, одна из микросхем: AD815, LT1210, LT1795, THS6012, AD8016, AD8392A — мощные ОУ.
Предусилители (единтичные аналоги): КР1040УД1, КР1053УД2, КР1401УД5, TL072, LM358 (LM158,LM258), GL358, NE532, OP295, OP290, OP221, OPA2237, TA75358P, UPC1251C, UPC358C и т.д.
8. К174ГФ2 (XR2206) + усилитель на транзисторах, класс А
8.1 К174ГФ2 (XR2206) + усилитель на транзисторах. Маломощняя упрощённая схема. Минусы — искажения синусоиды. На низкодобротных катушках малые токи.
9. SG3525A — регулировка мощности регулируется питающим напряжением (автор Денис Горелочкин). Минусы — присутствуют «иголки» на синусоиде. Уходит частота при нагреве.
9.1 SG3525A — упрощённая маломощная схема (автор Денис Горелочкин). Уходит частота при нагреве.
10. К561ЛН2 — генератор синусоиды, R6, С3 — регулировка частоты
11. К176ЛА7 — генератор синусоиды, R1 — регулировка симметрии, R6, С3 — регулировка частоты, R7 — качество синусоиды
12. 555 — генератор синусоиды
15. Автогенераторы на К561ЛА7
14. Автоген от Дениса Горелочкина den737 (рисунки здесь)
Запускается легко как TDA7056А (на TDA7056В хуже, но зависит от схемы). Следует делать компактный монтаж и ферритовое кольцо располагать ближе к ногам 3 и 6 TDA7056. Питание не поднимать выше 12 В (зависит от подключённой катушки — её добротности).
Для схемы с тремя конднесаторами 47 нано, чтоб уменьшить потребление нужно увеличить индуктивность до 30-35 мкГн, а номинал конденсатора, который возле него, снизить до 10нф (при 300кГц). Для 285кГц — 11нф. 1нф добавляет, примерно, 40ма к общему.
детектор (на Сопротивление 1 Ом) на маленьком вольтметре (как раньше были на магнитофонах) и можно контролировать прибор во время работы.
Схема с общим эмиттером
Две простых схемки, если есть промышленные генераторы. Питание от 12 до 24 вольт. Из минусов — искажения до 5%
Измерительная аппаратура — Генераторы функциональные
Простой функциональный генератор (Дополнения в №11 1981г стр.62). 20 Гц — 150 кГц, Рвых=300мВ К155ЛА8, КТ315Б «Радио» 1980 11 Ануфриев Л. Широкодиапазонный генератор прямоугольных импульсов 2 Гц…10 МГц, длительность 250 мс…50 нс, Rвых=200 Ом, задержка, на ТТЛ микросхемах, транзисторах и резистивных оптронах ОЭП-1 «В помощь радиолюбителю» 1983 82 Медякова Э. Широкодиапазонный функциональный генератор Форма синусоидальная, треугольная, прямоугольная, 0,1…300000 Гц, 6 поддиапазонов, Кг=0,5%, неравномерность 1%. Выполнен на К547УД1Ах4, 153УД1, К133ЛА3, КП303Е, КТ315Вх2, КТ361Дх2. «В помощь радиолюбителю» 1984 86 Зальцман Ю. Функциональный генератор 8 Гц…20 кгц, на ТТЛ микросхемах и ОУ «Радиолюбитель» 1997 6 Пехтерев А. Универсальный функциональный генератор 9 поддиапазонов от 0,1 Гц до 42 МГц. Форма сигнала — прямоугольная, треугольная, пилообразная, синусоидальная. 1В при Rн=50 Ом
Скважность — 0,053…19. Основа генератора — МС МАХ038
«Радио» 1998 5 Матыкин А. Функциональный генератор с электронной перестройкой частоты (Дополнение в №6 2003г.). 20 Гц…20 кГц. 3 поддиапазона. На К157УД2, К561ЛН2, КТ3102А «Радио» 2002 2 Нечаев И. (UA3WIA) Широкодиапазонный генератор импульсов с электронной перестройкой частоты 0,01 Гц…20 МГц «Радио» 2006 12 Мамедов Э.
Советую все-таки делать на XR-2206
- Частота регулируется ОЧЕНЬ нелинейно. Есть идеи, как решить эту проблему?
- По идее, частота F = (1/C)*320*ItIt — это ток с вывода 7, подтянутого к потенциалу 3В. То есть гарантируется линейность, в диапазоне токов 1мкА-3мА.
Схемы простых генераторов низкой частоты
Генераторы низкой частоты (ГНЧ) используют для получения незатухающих периодических колебаний электрического тока в диапазоне частот от долей Гц до десятков кГц. Такие генераторы, как правило, представляют собой усилители, охваченные положительной обратной связью (рис. 11.7,11.8) через фазосдви-гающие цепочки. Для осуществления этой связи и для возбуждения генератора необходимы следующие условия: сигнал с выхода усилителя должен поступать на вход со сдвигом по фазе 360 градусов (или кратном ему, т.е. О, 720, 1080 и т.д. градусов), а сам усилитель должен иметь некоторый запас коэффициента усиления, KycMIN. Поскольку условие оптимального сдвига фаз для возникновения генерации может выполняться только на одной частоте, именно на этой частоте и возбуждается усилитель с положительной обратной связью.

Для сдвига сигнала по фазе используют RC- и LC-цепи, кроме того, сам усилитель вносит в сигнал фазовый сдвиг. Для получения положительной обратной связи в генераторах (рис. 11.1, 11.7, 11.9) использован двойной Т-образный RC-мост; в генераторах (рис. 11.2, 11.8, 11.10) — мост Вина; в генераторах (рис. 11.3 — 11.6, 11.11 — 11.15) — фазосдвигающие RC-це-почки. В генераторах с RC-цепочками число звеньев может быть достаточно большим. На практике же для упрощения схемы число не превышает двух, трех.

Расчетные формулы и соотношения для определения основных характеристик RC-генераторов сигналов синусоидальной формы приведены в таблице 11.1. Для простоты расчета и упрощения подбора деталей использованы элементы с одинаковыми номиналами. Для вычисления частоты генерации (в Гц) в формулы подставляют значения сопротивлений, выраженные в Омах, емкостей — в Фарадах. Для примера, определим частоту генерации RC-генератора с использованием трехзвенной RC-це-пи положительной обратной связи (рис. 11.5). При R=8,2 кОм; С=5100 пФ (5,1х1СГ9 Ф) рабочая частота генератора будет равна 9326 Гц.

Для того чтобы соотношение резистивно-емкостных элементов генераторов соответствовало расчетным значениям, крайне желательно, чтобы входные и выходные цепи усилителя, охваченного петлей положительной обратной связи, не шунтировали эти элементы, не влияли на их величину. В этой связи для построения генераторных схем целесообразно использовать каскады усиления, имеющие высокое входное и низкое выходное сопротивления.
На рис. 11.7, 11.9 приведены «теоретическая» и несложная практическая схемы генераторов с использованием двойного Т-моста в цепи положительной обратной связи.
Генераторы с мостом Вина показаны на рис. 11.8, 11.10 [Р 1/88-34]. В качестве УНЧ использован двухкаскадный усилитель. Амплитуду выходного сигнала можно регулировать потенциометром R6. Если требуется создать генератор с мостом Вина, перестраиваемый по частоте, последовательно с резисторами R1, R2 (рис. 11.2, 11.8) включают сдвоенный потенциометр. Частотой такого генератора можно также управлять, заменив конденсаторы С1 и С2 (рис. 11.2, 11.8) на сдвоенный конденсатор переменной емкости. Поскольку максимальная емкость такого конденсатора редко превышает 500 пФ, удается перестраивать частоту генерации только в области достаточно высоких частот (десятки, сотни кГц). Стабильность частоты генерации в этом диапазоне невысока.

На практике для изменения частоты генерации подобных устройств часто используют переключаемые наборы конденсаторов или резисторов, а во входных цепях применяют полевые транзисторы. Во всех приводимых схемах отсутствуют элементы стабилизации выходного напряжения (для упрощения), хотя для генераторов, работающих на одной частоте или в узком диапазоне ее перестройки, их использование не обязательно.
Part 1 ~ The Function Generator
The circuit around the XR-2206 is based on the ExarTAN-005 XR-2206 Application Note which describes
a «High quality 1Hz to 100kHz function generator.» After playing with some of the component values and adding a couple of OpAmps, I think the sine wave quality is acceptable up to 550kHz
although the triangle wave starts to get rounded peaks at around 300 kHz.
Frequency control
| Capacitor | Minimum Frequency | Maximum Frequency |
|---|---|---|
| 1uF | 2.25Hz | 225Hz |
| 0.1uF | 20Hz | 2kHz |
| 0.01uF | 225Hz | 22kHz |
| 0.001uF | 2.0kHz | 186kHz |
| 470pF | 4kHz | 375kHz |
The Exar XR-2206 datasheet recommends 1000pF (0.001uF) as the minimum value for the timing capacitor
connected to pin 5. I’ve found that the square wave, in particular, tends to become ‘jittery’ and unstable between approximately 23kHz and 50kHz with a timing capacitor smaller than 400pF. As I’m using the
square wave output for the frequency counter/display, I’ve limited the smallest capacitor to 470pF which results in a top frequency around 375kHz. If the capacitor is reduced to 100pF, the highest
frequency is around 500kHz still with acceptable waveforms — except for the jittery square wave and resulting unstable frequency display between 23kHz and 50kHz.
Output Amplitude
Unfortunately, the output voltages of the sine and triangle are not the same. The maximum sine wave is about 6 volts peak-peak and the triangle wave is about twice that. In my circuit,
I’ve added two pre-set trimmers
— R15 and R16 — to adjust the waveforms so they’re the same voltage. When SW2b is closed, the output is a sine wave and SW2a connects R15. When SW2b is open, the output is triangle and R16 becomes the ‘active’ pre-set.
R15 and R16 both need to be «backed off» from maximum otherwise the TL027CP OpAmp is overloaded when the main Amplitude control — as part of the TL072CP circuit — is turned to maximum. Once R15 and R16 are set correctly, the output from the TL027CP is fully adjustable from near zero to about 10 volts peak-peak (ie ±5v about the centre ground 0v).
Although about 20 volts peak-peak can be achieved, 10 volts peak-peak is preferable to avoid excessive clipping when DC OFFSET is applied.
This image shows the effect of having the sinewave’s Amplitude preset trimmer set too high.
The TL072CP
(R12/R13) +1
Choice of the TL072CP was quite critical. Initially, I used an LM6172 which has a better frequency response but I found I could get a higher un-distorted output frequency using the
TL072CP. As the chip is socketed on the PCB and OpAmps tend to be pin-compatible, it’s easy to try different ICs.
The Sync/Square wave Output
This signal is fed to both halves of the comparator — LM293. The outputs at pins 1 and 7 swing between ground and 5 volts. The output on pin 7 is taken to a front panel BNC socket (for ‘scope sync or other uses) and the output
on pin 1 is taken to a header — together with +5v and ground — for connecting to the ATmega328-based frequency counter. The 1N4148 helps protect the ATmega328 input by
removing any negative spikes that may be present on
the square wave.
At 590kHz, the square wave has a rise time of about 140ns and a fall time around 70ns. A faster comparater could be used if faster rise and fall times are required. However, as I’ve noted
above, I’ve restricted the upper frequency limit to about 310kHz because of the square wave’s instability between 23kHz and 50kHz when using the smaller timing capacitor.
Back to Index |
Page 1 |
Page 2 |
Page 3 |
Page 4 |
Page 5
Datasheet Download — Exar Corporation
| Номер произв | XR-2206 | ||
| Описание | Monolithic Function Generator | ||
| Производители | Exar Corporation | ||
| логотип | |||
|
1Page
…the analog plus companyTM XR-2206 D Low-Sine Wave Distortion, 0.5%, Typical D Excellent Temperature Stability, 20ppm/°C, Typ. D Wide Sweep Range, 2000:1, Typical D Low-Supply Sensitivity, 0.01%V, Typ. D Linear Amplitude Modulation D TTL Compatible FSK Controls D Wide Supply Range, 10V to 26V D Adjustable Duty Cycle, 1% TO 99% APPLICATIONS D Waveform Generation D Sweep Generation D AM/FM Generation D V/F Conversion D FSK Generation D Phase-Locked Loops (VCO) June 1997-3 has a typical drift specification of 20ppm/°C. The oscillator frequency can be linearly swept over a 2000:1 frequency -55°C to +125°C –40°C to +85°C °C to +70°C °C to +70°C Rev. 1.03 E1972 EXAR Corporation, 48720 Kato Road, Fremont, CA 94538 z (510) 668-7000 z (510) 668-7017 1
XR-2206 TC1 5 TC2 6 Timing TR1 7 TR2 8 FSKI 9 AMSI 1 WAVEA1 13 VCC GND BIAS 4 12 10 +1 2 STO 3 MO
XR-2206 VCC TC1 16 SYMA2 15 SYMA1 14 WAVEA2 13 WAVEA1 12 GND 11 SYNCO 10 BIAS 9 FSKI 16 Lead PDIP, CDIP (0.300”) VCC TC1 16 SYMA2 15 SYMA1 14 WAVEA2 13 WAVEA1 12 GND 11 SYNCO 10 BIAS 9 FSKI 16 Lead SOIC (Jedec, 0.300”) VCC TC1 Sync Output. This output is a open collector and needs a pull up resistor to VCC. Ground pin. |
|||
| Всего страниц | 16 Pages | ||
| Скачать PDF |
Налаживание генератора ЗЧ
Налаживание генератора НЧ начинают с подбора резистора R11. Для этого размыкают цепь R12, R13. Высокоомным вольтметром измеряют напряжение на входе микросхемы А1 (вывод 4). Затем, подбирая резистор R11 в пределах от 300 Ом до 1,5 кОм, добиваются такого же напряжения на истоке транзистора V1.
Если этого не удается сделать, следует подобрать транзистор V1. (Может получиться так, что подобрать такой транзистор не удастся, тогда следует развязать по постоянному току вход микросхемы с истоком транзистора V1, включив в разрыв цепи конденсатор емкостью 50 мкФ.)
Восстановив разомкнутую цепь, изменяют сопротивление резистора R12 так, чтобы получить на выходе генератора сигнал без искажений, контролируя его форму по осциллографу. При дальнейшем уменьшении сопротивления этого резистора должно наступить симметричное ограничение сигнала.
Установив амплитуду выходного сигнала около 2 В и подобрав необходимое сопротивление резистора R17 в цепи PU1, налаживание генератора НЧ считают законченным.
Генератор НЧ радиолюбителя-конструктора
Генератор НЧ является одним из самых необходимых приборов в радиолюбительской лаборатории. С его помощью можно налаживать различные усилители, снимать АЧХ, проводить эксперименты. Генератор НЧ может быть источником НЧ сигнала, необходимого для работы других приборов ( измерительных мостов, модуляторов и др. )
Желательно чтобы генератор вырабатывал не только синусоидальное, но и прямоугольное напряжение, логического уровня, скважность и амплитуду которого можно регулировать.Принципиальная схема генератора показана на Рис.1. Схема состоит из низкочастотного синусоидального генератора на операционном усилителе А1 и формирователя прямоугольных импульсов на микросхеме D1
Схема синусоидального генератора традиционная. Операционный усилитель, при помощи положительной обратной связи ( С1-С3, R3, R4, R5, C4-C6 ) выполненной по схеме моста Винна, приведён в режим генерации. Избыточная глубина положительной обратной связи, приводящая к искажению выходного синусоидального сигнала, компенсируется отрицательной ОС R1-R2. Причём R1 подстроечный, чтобы с его помощью можно было установить величину ОС такой, при которой на выходе операционного усилителя неискажённый синусоидальный сигнал наибольшей амплитуды. Лампа накаливания включена на выходе ОУ в его цепи обратной связи. Вместе с резистором R16 лампа образует делитель напряжения, коэффициент деления которого зависит от протекающего через него тока ( лампа Н1 выполняет функции терморезистора, увеличивая своё сопротивление от нагрева, вызванного протекающим током ). Частота устанавливается двумя органами управления, – переключателем S1 выбирают один из трёх поддиапазонов «20-200 Гц», «200-2000 Гц» и «2000-20000 Гц». Реально диапазоны немного шире и частично перекрывают друг друга. Плавная настройка частоты производится сдвоенным переменным резистором R5. Желательно чтобы резистор был с линейным законом изменения сопротивления. Сопротивления и законы изменения составных частей R5 должны быть строго одинаковыми, поэтому применение самодельных сдвоенных резисторов ( сделанных из двух одиночных ) недопустимо. От точности равенства сопротивлений R5 сильно зависит коэффициент нелинейных искажений синусоидального сигнала. На оси переменного резистора закреплена ручка со стрелкой и простая шкала для установки частоты. Для точной установки частоты используют цифровой частотомер. Выходное напряжение плавно регулируют переменным резистором R6. С этого резистора поступает НЧ напряжение на милливольтметр, чтобы можно было установить необходимое выходное напряжение. Понизить установленное значение в 10 и 100 раз можно при помощи аттенюатора на резисторах R12-R14. Максимальное выходное напряжение НЧ генератора 1,0V. Для формирования импульсов служит ключ на транзисторе VT2 и три логических элемента на микросхеме D1. Выходной уровень КМОП логики. Транзистор VT2 включён по схеме ключа. Это значит, что при достижении на эго базе напряжения определённого уровня он лавинообразно открывается. На базу транзистора переменное напряжение с выхода генератора подаётся через делитель R9-R10. При помощи R9 можно установить величину минимального напряжения, при котором открывается VT2. Благодаря диоду VD1, который создаёт на эмиттере транзистора небольшое отрицательное напряжение смещения, этот порог можно устанавливать от 0,1 до 1V. То есть, до максимального значения выходного напряжения генератора. В зависимости от того, как установлен этот порок, транзистор VT2 будет открываться и закрываться на определённых участках положительной полуволны низкочастотного напряжения. И от этого будет зависеть ширина импульсов, возникающих на коллекторе транзистора. Окончательно прямоугольную форму импульсам предают элементы микросхемы D1. С гнёзд Х4 и Х5 можно снимать противофазные импульсы. Регулируют амплитуду выходных прямоугольных импульсов изменяя напряжение питания микросхемы D1 в пределах от 9,5 до 3,5V. Регулятор напряжения выполнен на транзисторе VT1. Выключают генератор тумблером на два положения S2, отключающим генератор от источника двуполярного напряжения ±10V.
Источник
ГЕНЕРАТОР ЧАСТОТОМЕР
ГЕНЕРАТОР ЧАСТОТОМЕР
В радиолюбительской лаборатории обязательно должен присутствовать прибор для цифрового измерения и генерации сигналов высокой частоты. И если с НЧ проблем нет — до 20 кГц можно использовать вход — выход аудиокарты ноутбука, то на частоте свыше 20кГц нужен отдельный прибор. Значит делаем всё в одном корпусе: генератор частотомер.
Предлагаю для этих целей собрать распространённые и проверенные схемы следующих девайсов, частотомер:
А для генератора ВЧ пойдёт такая схема:
Обозн. Число витков Провод Тип намотки L1 585 ПЭЛШО 0,1 Многослойная L2 255 ПЭЛШО 0,12 Многослойная L3 100 ПЭЛШО 0,12 Многослойная L4 56,5 ПЭЛШО 0,12 Двухрядная, виток к витку L5 22,5 ПЭВ 0,27 Однорядная с шагом 0,15 L6 6,5 ПЭВ 0,55 Однорядная с шагом 0,5
Каркасы катушек пластмассовые диаметром 5 и высотой 12 мм с внутренней резьбой М4. Диаметр каркасов для катушек L1-L3 увеличен до 5,6 мм за счет двух слоев трансформаторной бумаги, наклеенной на каркас для его удлинения (для L1 до 20 мм, для L2, L3 до 15 мм).

В качестве подстроечных сердечников для катушек L1-L3 используются ферритовые сердечники 600НН, а для L4-L6 карбонильные.
Весь диапазон разбит на 6 поддиапазонов (140-330; 315-780; 715-1800 кГц; 1,6-4,6; 4,4-12,5; 11,3-30 МГц).
Реально, для практики достаточно последних трёх диапазонов.
Напряжение генератора ВЧ — 100 мВ. Частота генератора НЧ (модулятора) — 1000 Гц, выходное напряжение — 0,5-0,6 В. Максимальная глубина модуляции на частотах до 11 МГц — 60%, свыше 11 МГц — 80%. Изменение глубины модуляции плавное. Имеется отдельный выход низкочастотного генератора.
Фото готовой конструкции генератора частотомера:
Для питания генератора частотомера используем БП с трансформатором (только не импульсник!), с обмотками на ток 0.5 А.
ФОРУМ по измерительной технике
https://youtube.com/watch?v=C-85Dv_NNcY







