Электрические аккумуляторы
Это источник постоянного тока многоразового использования, который действует не постоянно, а до следующего заряда. Они по своей химической природе подразделяются на типы:
- свинцово-кислотные;
- литий-ионные (литиевые);
- никель-кадмиевые;
- никелево-железные.
Свинцово-кислотные модели применяются в автомобилях, источниках бесперебойного питания, транспорте, промышленности, в отрасли связи и телекоммуникаций.
Литий-ионные батареи нашли широкое применение в мобильной связи, электроинструментах, системах телекоммуникаций, а также автономном и аварийном электроснабжении. Вот только небольшой перечень спектра их составов:
- литий-титанатовый;
- тионилхлоридный;
- литий-кобальтовый;
- литий-марганцевый;
- литий-фосфат железный;
- литий-полимерный;
- литий-диоксид серный;
- литий-диоксид марганцевый.
Советуем изучить Контакторы

Литий-ионные источники тока

Никель-кадмиевые аккумуляторы
Никелево-железные щелочные – очень надёжный тип источника. Пагубные для свинцово-кислотных батарей глубокие разряды, частые недозаряды не выводят их из строя. Они используются в тяговых транспортных цепях, в цепях резервного питания.
Схема электрической цепи – применение и классификация.
Однако, в современных электромеханических системах, где для управления исполнительными двигателями используются преобразователи частоты, система напряжений в общем случае является несинусоидальной.
Источник питания на рис. Действующее значение связано с амплитудным простым соотношением 2. Нюансы графической маркировки Чтобы удобнее было анализировать и рассчитывать электрическую цепь, её изображают в виде схемы.
Активный двухполюсник содержит источники электрической энергии, а пассивный двухполюсник их не содержит.
Когда по цепи течет ток, за некоторое время по ней пройдет некоторое количество электричества и выполнится определенная работа. В этом случае они считаются первичными. Каждая электрическая цепь включает в себя различные устройства и объекты, создающие пути для прохождения электрического тока. Точка, в которой концы фаз соединяются в общий узел, называется нейтральной на рис.
Устройство и описание ДПТ
Конструктивно электродвигатель постоянного тока устроен по принципу взаимодействия магнитных полей.
Самый простой ДПТ состоит из следующих основных узлов:
- Двух обмоток с сердечниками, соединенных последовательно. Данная конструкция расположена на валу и образует узел, называемый ротором или якорем.
- Двух постоянных магнитов, повёрнутых разными полюсами к обмоткам. Они выполняют задачу неподвижного статора.
- Коллектора – двух полукруглых, изолированных пластин, расположенных на валу ДПТ.
- Двух неподвижных контактных элементов (щёток), предназначенных для передачи электротока через коллектор до обмоток возбуждения.
Рисунок 1. Схематическое изображение простейшего электродвигателя постоянного тока. Рассмотренный выше пример – это скорее рабочая модель коллекторного электродвигателя. На практике такие устройства не применяются. Дело в том, что у такого моторчика слишком маленькая мощность. Он работает рывками, особенно при подключении механической нагрузки.
Статор (индуктор)
В моделях мощных современных двигателях постоянного тока используются статоры, они же индукторы, в виде катушек, намотанных на сердечники. При замыкании электрической цепи происходит образование линий магнитного поля, под действием возникающей электромагнитной индукции.
Для запитывания обмоток индуктора ДПТ могут использоваться различные схемы подключения:
- с независимым возбуждением обмоток;
- соединение параллельно обмоткам якоря;
- варианты с последовательным возбуждением катушек ротора и статора;
- смешанное подсоединение.
Схемы подключения наглядно видно на рисунке 2.
Рисунок 2. Схемы подключения обмоток статора ДПТ
У каждого способа есть свои преимущества и недостатки. Часто способ подключения диктуется условиями, в которых предстоит эксплуатация электродвигателя постоянного тока. В частности, если требуется уменьшить искрения коллектора, то применяют параллельное соединение. Для увеличения крутящего момента лучше использовать схемы с последовательным подключением обмоток. Наличие высоких пусковых токов создаёт повышенную электрическую мощность в момент запуска мотора. Данный способ подходит для двигателя постоянного тока, интенсивно работающего в кратковременном режиме, например для стартера. В таком режиме работы детали электродвигателя не успевают перегреться, поэтому износ их незначителен.
Ротор (якорь)
В рассмотренном выше примере примитивного электромотора ротор состоит из двухзубцового якоря на одной обмотке, с чётко выраженными полюсами. Конструкция обеспечивает вращение вала электромотора.
В описанном устройстве есть существенный недостаток: при остановке вращения якоря, его обмотки занимают устойчивое. Для повторного запуска электродвигателя требуется сообщить валу некий крутящий момент.
Этого серьёзного недостатка лишён якорь с тремя и большим количеством обмоток. На рисунке 3 показано изображение трёхобмоточного ротора, а на рис. 4 – якорь с большим количеством обмоток.
Рисунок 3. Ротор с тремя обмотками
Рисунок 4. Якорь со многими обмотками
Подобные роторы довольно часто встречаются в небольших маломощных электродвигателях.
Для построения мощных тяговых электродвигателей и с целью повышения стабильности частоты вращения используют якоря с большим количеством обмоток. Схема такого двигателя показана на рисунке 5.
Рисунок 5. Схема электромотора с многообмоточным якорем
Коллектор
Если на выводы обмоток ротора подключить источник постоянного тока, якорь сделает пол-оборота и остановится. Для продолжения процесса вращения необходимо поменять полярность подводимого тока. Устройство, выполняющее функции переключения тока с целью изменения полярности на выводах обмоток, называется коллектором.
Такой же принцип коммутации питания обмоток используются во всех коллекторах, в т. ч. и в устройствах с большим количеством ламелей (по паре на каждую обмотку). Таким образом, коллектор обеспечивает коммутацию, необходимую для непрерывного вращения ротора.
В современных конструкциях коллектора ламели расположены по кругу таким образом, что каждая пластина соответствующей пары находится на диаметрально противоположной стороне. Цепь якоря коммутируется в результате изменения положения вала.
Коэффициент мощности
Активная мощность нагрузки с питанием от сети переменного тока может быть рассчитана с помощью простой формулы P = U × I × cos (φ), где φ – угол между напряжением и током, cos (φ) также называется коэффициентом мощности. Это то, чем отличаются постоянный и переменный ток: у первого cos (φ) всегда равен 1. Активная мощность необходима (и оплачивается) бытовыми и промышленными потребителями, но она не равна комплексной, проходящей через проводники (кабели) к нагрузке, которая может быть рассчитана по формуле S = U × I и измеряется в вольт-амперах (ВА).
Разница между постоянным и переменным током в расчетах очевидна – они становятся более сложными. Даже для выполнения самых простых вычислений требуется, по крайней мере, посредственное знание векторной математики.
Электрическая цепь постоянного тока
Алгебраическая сумма падений напряжений на резистивных элементах в любом замкнутом контуре равно алгебраической сумме ЭДС. Нелинейный элемент, например лампа накаливания, имеет сопротивление, величина которого увеличивается при повышении напряжения, а следовательно и тока, подводимого к лампочке.
Источник электрической энергии характеризуется понятием ЭДС Е , под которой понимают величину, численно равную энергии, получаемой внутри источника единицей электрического заряда.
При расчете в схеме электрической цепи выделяют несколько основных элементов. Этот метод основан на составлении уравнений по первому закону Кирхгофа: Схема сложной электрической цепи с двумя узлами.
Для разных электротехнических устройств указывают свои номинальные параметры.
Электрическая цепь в режиме короткого замыкания имеет сопротивление, которое равно нулю. В этой схеме реальные элементы цепи изображаются условными обозначениями, причем вспомогательные элементы цепи обычно не изображаются, а если сопротивление соединительных проводов намного меньше сопротивления других элементов цепи, его не учитывают.
Как видно, при параллельном соединении источников ток и мощность внешней цепи равны соответственно сумме токов и мощностей источников.
В случае последовательного соединения сопротивлений в ветви В общем виде уравнения узловых потенциалов имеют вид: Если в схеме имеются источники тока, то слагаемое в правой части будет равно сумме источников тока: Метод узловых потенциалов имеет преимущество, если число независимых узлов меньше числа контуров. Желательно во всех контурах положительные направления обхода выбирать одинаковыми, например, по часовой стрелке, как показано на рис.
Устройство и принцип работы двигателя постоянного тока. Схема двигателя постоянного тока.
https://youtube.com/watch?v=zNdwN3rNkX8
Практика применения
Чаще всего данные изделия используются как измерители в схемах токовых реле, которые управляют режимами работы различного электроприводного оборудования и предохраняют его от экстремальных ситуаций.
Токовые реле способны защитить любое механическое устройство от заклинивания или других условий перегрузки, которые приводят к ощутимому увеличению нагрузки на двигатель. Функционально они определяют уровни тока и выдают выходной сигнал при достижении указанного значения. Такие реле используются для:
- Сигнала сильноточных условий, например, забитая зёрнами доверху кофемолка;
- Некоторых слаботочных условий, например, работающий насос при низком уровне воды.
Чтобы удовлетворить требования разнообразного набора приложений, в настоящее время используется блочный принцип компоновки датчиков, включая применение USB-разъёмов, монтаж на DIN-рейку и кольцевые исполнения устройств. Это обеспечивает выполнение следующих функций:
- Надёжную работу на любых режимах эксплуатации;
- Возможность применения трансформаторов;
- Регулировка текущих параметров, которые могут быть фиксированными или регулируемыми;
- Аналоговый или цифровой выход, включая и вариант с коротким замыканием;
- Различные исполнения блоков питания.
В качестве примера рассмотрим схему датчика тока для управления работой водяного насоса, обеспечивающего подачу воды в дом.
Кавитация — это разрушительное состояние, вызванное присутствием пузырьков, которые образуются, когда центробежный насос или вертикальный турбинный насос работает с низким уровнем жидкости. Образующиеся пузырьки затем лопаются, что приводит к точечной коррозии и разрушению исполнительного узла насоса. Подобную ситуацию предотвращает токовое реле.
Когда насос работает в нормальном режиме, и жидкость полностью перекрывает его впускное отверстие, двигатель насоса потребляет номинальный рабочий ток. В случае снижения уровня воды потребляемый ток уменьшается. Если кнопка запуска нажата, одновременно включаются стартёр M и таймер TD. Реле CD настроено на максимальный ток, поэтому его контакт при первоначальном запуске двигателя не будет замкнут. При падении силы тока ниже установленного минимума реле включается, а, после истечения времени ожидания TD, включается в его нормально замкнутый контакт. Соответственно контакты CR размыкаются и обесточивают двигатель насоса.
Применение такого детектора исключает автоматический перезапуск насоса, поскольку оператору необходимо убедиться в том, что уровень жидкости перед впускным отверстием достаточен.
Как производится расчет электрических цепей
Путь вычисления делится на множество способов, которые используются на практике:
- метод, основанный на законе Ома и правилах Кирхгофа;
- способ определения контурных токов;
- прием эквивалентных преобразований;
- методика измерений сопротивлений защитных проводников;
- расчет узловых потенциалов;
- метод идентичного генератора, и другие.
По условию задачи известны сопротивления подсоединенных к цепи резисторов R1, R2, R3, R4, R5, R6 (без учета сопротивления амперметра). Необходимо вычислить силу токов J1, J2…J6.
На схеме есть три последовательных участка. Причем второй и третий имеют разветвления. Сопротивления этих участков обозначим, как R1, R’, R”. Тогда общее сопротивление равно сумме сопротивлений:
R = R1 + R’ + R”, где
R’ – общее сопротивление параллельно подключенных резисторов R2, R3, R4.
R” – общее сопротивление резисторов R5 и R6.
Используя закон параллельного соединения, вычисляем сопротивления R’ и R”.
1/R’ = 1/R2 + 1/R3 + 1/R4
1/R” = 1/R5 + 1/R6
Определить силу тока в неразветвленной цепи, зная общее сопротивление при заданном напряжении, можно по следующей формуле:
I = U/R, тогда I = I1
Для вычисления силы тока в отдельно взятых ветвях, нужно определить напряжение на участках последовательных цепей по закону Ома:
U1 = IR1; U2 = IR’; U3 = IR”;
Зная напряжение конкретных участков, можно вычислить силу тока на отдельных ветвях:
I2 = U2/R2; I3 = U2/R3; I4 = U2/R4; I5 = U3/R5; I6 = U3/R6
Иногда необходимо узнать сопротивление участков по известным параметрам напряжения, силы токов, сопротивления других участков или сделать расчет напряжения по имеющимся данным сопротивления и силе тока.
https://youtube.com/watch?v=kgX3mLh56Wg
- https://formulki.ru/electromagnetism/sostavnye-chasti-elektricheskoj-tsepi
- https://panelektro.ru/ampery/kak-chitat-elektricheskie-shemy.html
- http://www.sxemotehnika.ru/elektricheskaya-tsep-i-ee-elementi.html
- https://tokzamer.ru/bez-rubriki/shemy-soedineniya-elektricheskoj-cepi
- https://habr.com/ru/post/451158/
- https://StrojDvor.ru/elektrosnabzhenie/ponyatie-elektricheskoj-cepi-i-ee-sostavnye-chasti/
Типы электрических цепей
В электротехники по типу соединения элементов электрической цепи существуют следующие электрические цепи:
- последовательная электрическая цепь;
- параллельная электрическая цепь;
- последовательно-параллельная электрическая цепь.
Последовательная электрическая цепь.
В последовательной электрической цепи (рисунок 2.) все элементы цепи последовательно друг с другом, то есть конец первого с началом второго, конец второго с началом первого и т.д.
Рисунок 2. Последовательная электрическая цепь.
При таком соединении элементов цепи ток имеет только один путь протекания от источника тока к нагрузке.При этом общий ток цепи Iобщ будет равен току через каждый элемент цепи:
Iобщ=I1=I2=I3
Падение напряжения вдоль всей цепи, то есть на участке А-Б (Uа-б), будет равно приложенному к этому участку напряжению E и равно сумме падений напряжений на всех участках цепи (резисторах):
E=Uа-б=U1+U2+U3
Параллельная электрическая цепь.
В параллельной электрической цепи (рисунок 3.) все элементы соединены таким образом, что их начало соединены в одну общую точку, а концы в другую.
Рисунок 3. Параллельная электрическая цепь.
В этом случае у тока имеется несколько путей протекания от источника к нагрузкам, а общий ток цепи Iобщ будет равен сумме токов параллельных ветвей:
Iобщ=I1+I2+I3
Падение напряжения на всех резисторах будет равно приложенному напряжению к участку с параллельным соединением резисторов:
E=U1=U2=U3
Последовательно-параллельная электрическая цепь.
Последовательно-параллельная электрическая цепь является комбинацией последовательной и параллельной цепи, то есть ее элементы включаются и последовательно и параллельно (рисунок 4).
Рисунок 4. Последовательно-параллельная электрическая цепь.
Направление электрического тока в металлах
По металлическим проводам перемещаются отрицательно заряженные электроны, т.е. ток идет от «–» к «+» источника. Направление движения электронов называют действительным. Но исторически в науке принято условное направление тока от «+» источника к «–».
Действия электрического тока (преобразования энергии)
Электрический ток способен вызывать различные действия:
- Тепловое — электрическая энергия преобразуется в тепло. Такое преобразование обеспечивает электроплита, электрический камин, утюг.
- Химическое — электролиты под действием постоянного электрического тока подвергаются электролизу. К положительному электроду (аноду) в процессе электролиза притягиваются отрицательные ионы (анионы), а к отрицательному электроду (катоду) — положительные ионы (катионы).
- Магнитное (электромагнитное) — при наличии электрического тока в любом проводнике вокруг него наблюдается магнитное поле, т.е. проводник с током приобретает магнитные свойства.
- Световое — электрический ток разогревает металлы до белого каления, и они начинают светиться подобно вольфрамовой спирали внутри лампы накаливания. Другой пример — светодиоды, в которых свет обусловлен излучением фотонов при переходе электрона с одного энергетического уровня на другой.
- Механическое — параллельные проводники с электрическими токами, текущими в одном направлении, притягиваются, а в противоположных — отталкиваются.
Как работают датчики и токовые клещи для измерения постоянного и переменного тока
Для расширения функционала мультиметров, осциллографов и других электроизмерительных инструментов, применяются токовые датчики в форме клещей — токовые клещи. Для проведения измерений клещами, их смыкают в обхват проводника с током, и таким образом, без разрыва цепи и без необходимости врезания в проводник какого бы то ни было шунта, осуществляют замер.
Это просто и удобно. Результат измерения прибор отображает на своей шкале в виде напряжения или тока пропорциональной измеренному току величины. Достоинство метода заключается еще и в том, что прибор может и не иметь достаточно широкого входного диапазона, тогда как датчик — клещи вполне в состоянии свободно принять проводник даже с очень большим током.
Проводник с измеряемым током не только остается целым, но и всегда гальванически изолирован от цепей измерительного прибора. Сам же прибор может иметь входную цепь с очень высоким импедансом и даже быть заземлен. Здесь нет необходимости как-то регулировать или включать и выключать питание цепи, параметры которой измеряются клещами, а значит в работе питаемого оборудования не будет простоев.
Среднеквадратичное значение тока в диапазоне частотных характеристик датчика можно измерить при совместном использовании токового датчика с мультиметром, способным измерять среднеквадратичные значения. В данном случае диапазон будет ограничен возможностями (шкалой) мультиметра. Лучшие результаты достигаются с датчиками обладающими широкой частотной характеристикой, минимальным фазовым сдвигом и высокой точностью.
Для измерения параметров переменного тока используются датчики, работающие по принципу обычного измерительного токового трансформатора. Любой трансформатор имеет первичную и вторичную обмотки, установленные на общем магнитопроводе. Первичное напряжение подается на первичную обмотку, в сердечнике создается переменный магнитный поток, наводящий во вторичной обмотке соответствующую коэффициенту трансформации ЭДС. Токи первичной и вторичной обмоток соотносятся как количества витков во вторичной и первичной обмотках.
Так и работает токовый датчик для измерения переменного тока. Магнитопровод в форме клещей замыкается вокруг проводника. Проводник — это первичная обмотка, состоящая из одного единственного витка, значение тока в котором необходимо узнать.
Ток во вторичной обмотке будет пропорционален току в проводнике и отличаться от него в число раз, равное коэффициенту трансформации, то есть во столько раз, сколько витков во вторичной обмотке. Количество витков во вторичной обмотке датчика обычно 1000, 500 или 100.
Если датчик имеет 1000 витков, то клещи имеют обозначение 1000:1 или 1мА/А — это значит что 1 мА в показаниях прибора тождественен 1А в исследуемом проводнике. Или 1А на приборе — 1000 А в проводнике.
Соотношение может быть в принципе и другим: 3000:5 или 2000:2, в зависимости от назначения прибора. Однако в большинстве случаев клещи работают в паре с обычным мультиметром и соотношение, как правило, 1000:1.
При соотношении 1000:1 или 1мА/А показания прибора будут такими. При входном токе в 700А выходные показания окажутся 700мА, при 300А — 300мА и т. д. Так происходит потому, что выход датчика присоединяется к цифровому мультиметру в режиме измерения переменного тока с выбранным диапазоном значений.
Для определения действующей величины тока в проводнике, показания мультиметра умножаются на коэффициент датчика. Главное — чтобы измерительный прибор имел требуемое входное сопротивление.
Если измерительный прибор имеет вход только по напряжению (вольтметр или осциллограф), то он также может использоваться с токовым датчиком — клещами. Для этого токовый выход датчика необходимо согласовать с входом прибора, применив принцип измерительного трансформатора тока. Тогда показания переменного напряжения будут пропорциональны измеряемому переменному току.
Корпуса электромагнитных реле
Все большую популярность приобретают реле с герметичными корпусами, но все еще доступны реле и в негерметичном корпусе в виде пластиковой крышки, устанавливаемой на защелки. При разработке оборудования для дома или в офисе, это не имеет особого значения
Но в загрязненной или сырой среде на это стоит обратить внимание

Разумеется только герметичные реле следует размещать в среде с повышенной влажностью. Но есть и помещения с совершенно другой спецификой, например, котельные. Воздух в них обычно сухой и теплый, но загрязнен угольной пылью и выхлопными газами. Примеси богаты серой, которая является неотъемлемым спутником всех видов углерода. Если сжигание в небольших котельных оказывает незначительное влияние на окружающую среду, то электроника внутри котельной может это сразу почувствовать. Большинство реле средней мощности имеют контакты из сплава серебра, идеально реагирующие с серой с образованием сульфида серебра, который нерастворим и не электропроводен. То есть контакты реле за короткое время сульфатируются.
В своих примечаниях производители обращают внимание на использование реле с негерметичным корпусом только в местах, свободных от пыли, соединений серы и азота. Это сказывается и на классе герметичности — блоки с герметичным корпусом обычно имеют класс IP67, а обычные только IP40
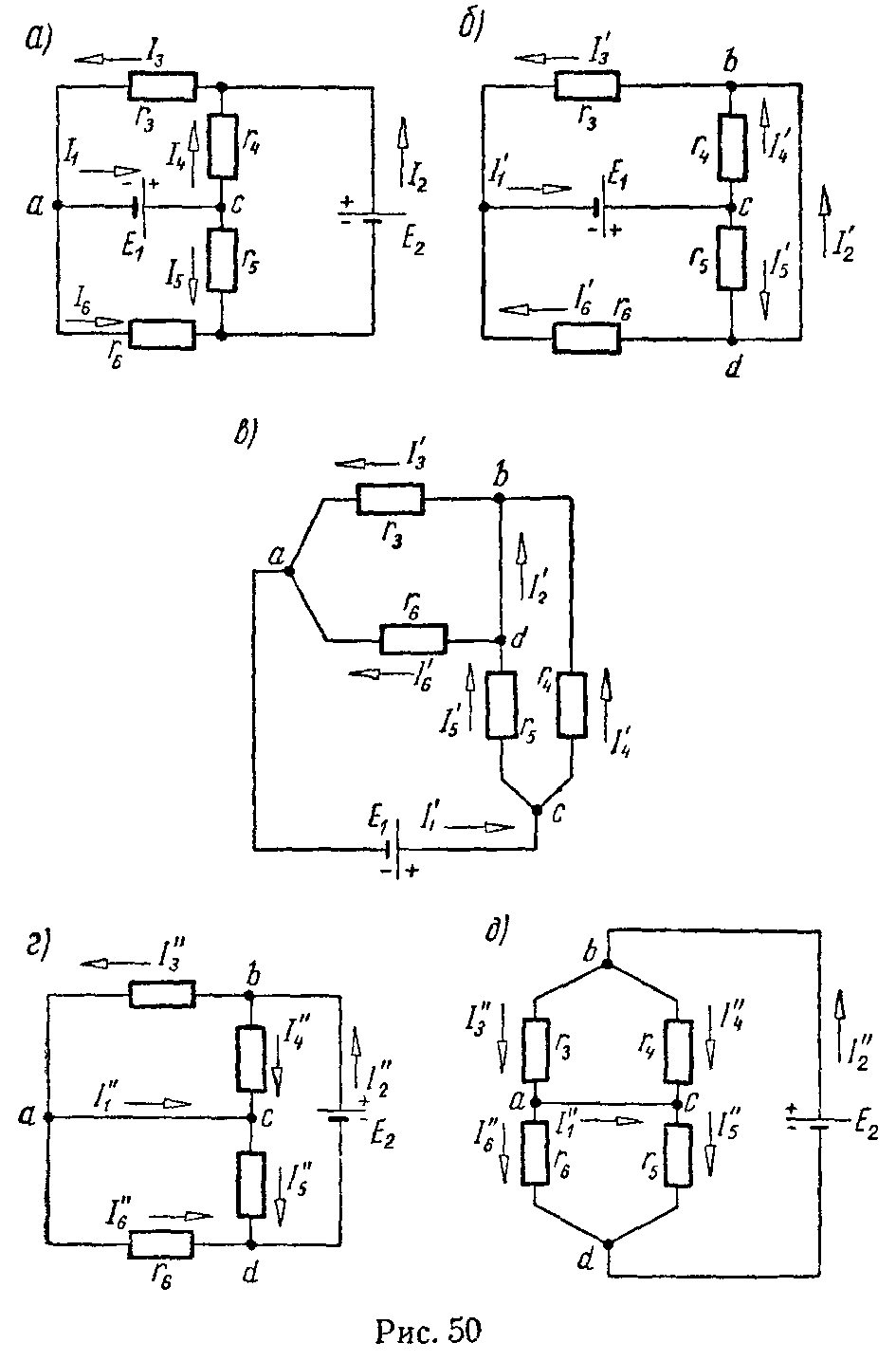
Расчет цепи методом контурных токов.
Метод контурных токов дает возможность упростить расчет электрических цепей по сравнению с методом расчета по законам Кирхгофа за счет уменьшения числа уравнений, которые приходится решать совместно. Этот метод заключается в том, что вместо токов в ветвях определяются на основании второго закона Кирхгофа так называемые контурные токи, замыкающиеся в контурах. На рис. 1.22. в виде примера показана двухконтурная цепь, в которой I11 и I22 — контурные токи. Токи в сопротивлениях r1 и r2 равны соответствующим контурным токам; ток в сопротивлении r3 являющемся общим для обоих контуров, равен разности контурных токов I11 и I22, так как эти токи направлены в ветви r3 встречно.
Число уравнений , записываемых для контурных токов по второму закону Кирхгофа, равно числу независимых контуров, то есть для электрической схемы с числом узлов q и числом ветвей p задача нахождения контурных токов сведется к решению системы p-q +1 уравнений. Так, в схеме рис. 1.22 q = 2 p = 3; следовательно, число уравнений равно 3-2+1=2 (число уравнений независимых контуров).
Положительные направления контурных токов задаются произвольно. Направление обхода каждого контура принимается обычно совпадающим с выбранным положительным направлением контурного тока; поэтому при составлении уравнения по второму закону Кирхгофа падение напряжения от заданного контурного тока в сопротивлениях, входящих в контур, берется со знаком плюс. Падение напряжения от тока смежного контура в общем сопротивлении берется со знаком минус, если контурные токи в этом сопротивлении направлены встречно, как это, например, имеет место в схеме рис. 1.22, где направление обоих контурных токов выбрано по ходу часовой стрелки.
Для заданной электрической схемы с двумя независимыми контурами (рис.1.22) могут быть записаны два уравнения по второму закону Кирхгофа, а именно:
, ,
здесь (r1 + r3) и (r2 + r3) — собственные сопротивления контуров 1 и 2, r3 —
общее сопротивление контуров 1 и 2. После определения контурных токов, легко найти и токи всех ветвей.
I1 = I11; I2 = I22 ; I3 = I11 — I22 .
Баланс мощностей.
Все расчеты в электрических цепях проверяют балансом мощностей
Баланс основан на законе сохранения и превращения энергии: сколько энергии выработали источники, столько же ее нагрузки должны потребить. Вместо энергии в балансе можно использовать мощность. Выработанная мощность всеми источниками должна быть равна суммарной мощности, расходуемой в нагрузках.
Баланс мощностей можно сформулировать так: алгебраическая сумма мощностей источников, должна быть равна арифметической сумме мощностей нагрузок. Если направление ЭДС и направление тока ветви не совпадают, то составляющая мощности этого источника в балансе мощностей берется со знаком «минус».
Мощность, отдаваемая источниками ЭДС, равна.
| PИ = E I |
Если в резисторе не происходит химических реакций, то мощность выделяется в форме тепла, согласно известному закону Джоуля.
| PП = R I2 |
где: I — постоянный ток (А), протекающий через резистор; PП — мощность потерь, измеряемая в ваттах (Вт); R — сопротивление резистора (Ом).
Равенство выражений мощностей источников и мощностей приемников называется уравнением баланса мощностей.
План составления баланса мощностей
1. Если в цепи есть источники тока, то следует любым методом найти напряжения на зажимах источников тока Uk.
| Цепи с источником тока |
2. вычислить мощность источников.
| PИ = | n | m | |
| k = 1 | Uk * Jk + | k = 1 | Ek * Ik |
3. где: N — количество источников тока в цепи; M — количество источников ЭДС в цепи; Uk — напряжение на источниках тока Jk;
| m | |
| k = 1 | Ek * Ik |
—
алгебраическая сумма, здесь положительны те из слагаемых, для которых направления ЭДС Еk и соответствующего тока Ik совпадают, в противном случаи слагаемое отрицательно;
n
| k = 1 | Uk * Jk |
—
алгебраическая сумма, здесь положительны те из слагаемых, для которых направление напряжения на зажимах источника тока Uk и направление его тока Jk во внешней цепи совпадают, в противном случаи слагаемое отрицательно.
PП =
L
k = 1
I2k * Rk
5. где:
| L | — | количество приемников в цепи; |
| L | ||
| k = 1 | I2k * Rk |
—
арифметическая сумма, здесь должны быть учтены как внешние резисторы, так и внутренние сопротивления самих источников.
6. Получаем равенство.
| РИ = РП |
Структура
Электрическая цепь — совокупность устройств и элементов, имеющая целью доставить ток потребителю и преобразовать его в другой вид энергии: тепло, свет или механическую работу.

В цепи различают три части:
- источник питания;
- транслирующая часть: провода, выключатели, трансформаторы, стабилизаторы и пр. Все то, что используется для передачи, трансформации электрической энергии и поддержания ее качества на должном уровне;
- потребители: лампы, электродвигатели, нагреватели и пр.
Источник питания — генератор, аккумулятор, солнечную батарею — называют внутренней частью цепи, остальные компоненты — внешней. Также источник называют активным элементом, прочие — пассивными. Электрическая цепь функционирует только в замкнутом виде, то есть в непрерывном. При размыкании сила тока в ней падает до нуля, хотя участок со стороны генератора или батареи остается под напряжением.
По числу выводов компоненты цепи делятся на два вида:
- двухполюсные: имеют одну пару выводов. Пример — диод, резистор;
- многополюсные: имеют более двух выводов. Пример — трансформатор (4 вывода).
Процессы в электрической цепи описываются законами Ома и Кирхгофа.
Компоненты в ней соединяются тремя способами:
- последовательно;
- параллельно;
- комбинированным способом.
Применяют такие термины:
- ветвь. Участок из последовательно соединенных элементов в параллельной или комбинированной цепи. Законы электротехники гласят: сила тока в пределах ветви одинакова, независимо от величины сопротивления составляющих ее компонентов, а общее сопротивление ветви равно сумме сопротивлений всех ее компонентов. В цепи только с последовательным соединением компонентов, ветвей не выделяют, ее так и называют — неразветвленная цепь;
- узел. Место, где цепь разветвляется. Принято считать, что сумма токов, сходящихся в узле, равна сумме токов, исходящих из него. Падение напряжения для параллельных ветвей между точками разветвления и схождения — одинаково;
- контур. Совокупность ветвей, представляющая собой замкнутый путь для тока.
По функциональности отдельные части в структуре электрической цепи делятся на такие виды:

- силовая. Включает в себя элементы, генерирующие, проводящие, преобразующие и потребляющие электроэнергию;
- вспомогательная. Различные дополнительные устройства, не относящиеся к силовой части. Например, установки компенсации реактивной мощности, предохранители;
- измерительная. Относящиеся к этой части приборы позволяют отследить параметры сети и подключенных к ней устройств;
- управляющая. Оборудование для регулировки параметров устройств либо их включения/отключения.;
- сигнализирующая. Сообщает путем включения сигнальных устройств об изменениях в параметрах сети.
По сложности электрические цепи делят на:
- простейшие: источник, подключенный к потребителю;
- простые: содержат один контур;
- сложные: насчитывают несколько контуров.
В сложных цепях выделяют:
- многоконтурные;
- многоузловые;
- плоскостные;
- объемные.
Трехфазные генераторы
Заметим, что наиболее экономически выгодным способом получения переменного электротока будет использование трехфазного генератора. Упрощенная схема его конструкции показана на рисунке.
Устройство трехфазного генератора
Как видим, в генераторе используются три катушки, размещенные со смещением 120°, соединенные между собой треугольником (на практике такое соединение обмоток генератора не применяется в виду низкого КПД). При прохождении одного из полюсов магнита мимо катушки, в ней индуктируется ЭДС.
Графическое изображение сгенерированного трехфазного электротока
Условные обозначения источников электрической энергии и элементов цепей
| Условное обозначение | Элемент |
|
Идеальный источник ЭДС Е — электродвижущая сила, Е = const Ro = 0 — внутреннее сопротивление |
|
|
Идеальный источник тока I = const Rвн- внутреннее сопротивление источника тока, Rвн>>Rнаг |
|
|
Активное сопротивление R = const |
|
| Индуктивность L = const | |
| Емкость С = const |
К химическим источникам тока относят гальванические элементы и аккумуляторы. В них заряды переносятся в результате химических реакций. При этом в гальваническом элементе реагенты расходуются необратимо, а в аккумуляторе они могут восстанавливаться путем пропускания через аккумулятор электрического тока противоположного направления от других источников.
Источники электрической энергии относятся к группе активных элементов электротехнических устройств. Если Rо=0 и электродвижущая сила (ЭДС) Е=const, то источник называется идеальным. Аккумуляторная батарея по своим параметрам близка к идеальному источнику ЭДС.
К группе пассивных элементов относятся: активное сопротивление R, индуктивность L и емкость С.
В электротехнических устройствах одновременно протекают три энергетических процесса:
1 В активном сопротивлении в соответствии с законом Джоуля — Ленца происходит преобразование электрической энергии в тепло.
Мощность, по определению равна отношению работы к промежутку времени, за который эта работа совершается. Следовательно, мощность тока для участка цепи
p = A/t = ui
Полная мощность, вырабатываемая генератором, равна
где R- полное сопротивление замкнутой цепи, называемое омическим или активным;
Р, I — мощность и ток в цепи постоянного тока.
р, i, и — мгновенные значения активной мощности, тока и напряжения в цепи переменного тока,
g — активная проводимость или величина, обратная сопротивлению g=1/R измеряется в сименсах (См).
В соответствии с законом сохранения энергии работа есть мера изменения различных видов энергии. Так, в электродвигателе за счет работы тока возникает механическая энергия, протекают химические реакции и т. д. На резисторах происходит необратимое преобразование энергии электрического тока во внутреннюю энергию проводника.
Если в проводнике под действием тока не происходит химических реакций, то температура проводника должна измениться. Изменение внутренней энергии проводника (количество теплоты) Q равно работе А, которую совершает суммарное поле при перемещении зарядов:
Q = А = uit
Воспользовавшись законом Ома, получим два эквивалентных выражения:
Это и есть закон Джоуля — Ленца.
Если нужно сравнить два резистора по характеру тепловых процессов, происходящих в них, то нужно предварительно выяснить: протекает ли по ним одинаковый ток или они находятся под одинаковым напряжением?
Если по двум резисторам протекают одинаковые токи, то согласно формуле за одно и то же время больше возрастает внутренняя энергия резистора с большим сопротивлением. С таким случаем мы встречаемся, например, в цепи с последовательным соединением резисторов. Последнее обстоятельство следует учитывать при включении в сеть нагрузки (электроплиток, утюгов, электродвигателей и т. д.). Сопротивление подводящих проводов при этом должно быть значительно меньше, чем сопротивление нагрузки. При несоблюдении этого условия в проводах выделится большое количество теплоты, что может привести к их загоранию.
Если же оба резистора находятся под одинаковым напряжением, то согласно формуле быстрее будет нагреваться резистор с меньшим сопротивлением. Такой эффект, в частности, наблюдают при параллельном соединении резисторов.
Термин «сопротивление» применяется для условного обозначения элемента электрической цепи и для количественной оценки величины R.
Сопротивление измеряется в омах (Ом). 1 Ом — это сопротивление проводника, сила тока в котором равна 1 А, если на концах его поддерживается разность потенциалов 1 В:
1 Ом = 1 В/1 А
Электрическое сопротивление R материалов с изменением температуры меняется. Сопротивление металлических проводников линейно возрастает с температурой. У полупроводников и электролитов с увеличением температуры удельное сопротивление уменьшается, причем нелинейно.
Для сравнения проводников по степени зависимости их сопротивления от температуры t вводится величина a, называемая температурным коэффициентом сопротивления. Отсюда
Для практических расчетов в электрических цепях величину R можно принимать постоянной. В этом случае зависимость напряжения на сопротивлении R от силы тока (вольт-амперная характеристика) будет называться линейной. Электрические цепи, в которые включены постоянные по величине сопротивления, также будут линейными.





