Принцип работы
Все вышеупомянутые типы ламп в том или ином виде нашли применение в аудиотехнике. При этом пытливые умы аудиоинженеров постоянно искали пути наиболее эффективного их использования. Довольно быстро они пришли к выводу, что место включения экранирующей сетки пентода в схему усилителя — это инструмент, с помощью которого можно принципиально изменить режим его работы. При подключении сетки к катоду мы имеем классический пентодный режим, если же переключить сетку на анод — пентод начинает работать в режиме триода. Это позволяет объединить два типа усилителя в одном с возможностью смены режима с помощью простого переключателя.
Так работает тетрод
Но и этим дело не ограничилось. В 1951 году американские инженеры Дэвид Хафлер и Харберт Керос предложили подключать сетку пентода совершенно иным способом: к промежуточным отводам первичной обмотки выходного трансформатора. Такое подключение является чем-то средним между чистым триодным и чистым пентодным включением, давая возможность комбинировать свойства обоих режимов.
Таким образом, с режимами ламп произошла та же история, что и с классами усиления, когда вслед за «чистыми» классами А и В появился комбинированный класс АВ, сочетающий сильные стороны двух предыдущих.
Обозначение разных типов ламп по ГОСТу
В том, что касается сочетания режимов работы ламп и классов усиления, они могут комбинироваться произвольным образом, что приводит к изрядной путанице и даже жарким спорам в рядах неофитов. Не добавляет ясности и тот факт, что разработчики ламповых усилителей в большинстве случаев указывают не класс усилителя, а принцип схемотехники: однотактный — SE (Single Ended) или двухтактный — PP (Push-Pull). В итоге, пентоды и тетроды нередко ассоциируют исключительно с классом АВ и двухтактной схемой в целом, а триод, напротив, считают синонимом класса А и сугубо однотактного включения. На самом же деле, ни что не препятствует переключить усилитель, работающий в классе А, в пентодный или ультралинейный режим, а на паре триодов можно собрать двухтактный усилитель, работающий в классе В или АВ.
Предпосылкой к неверным ассоциациям является частота использования тех или иных режимов в различных классах усиления. Триоды чаще используют в однотактных схемах и классе А. В свою очередь, пентоды и тетроды лучше подходят для работы в двухтактных схемах, хотя переключение их в триодный режим — реальная опция, встречающаяся на усилителях, работающих в классе АВ, и не имеющая ровным счетом никакого отношения к классу А.
Ламповый усилитель на КТ88 — схема
Первый каскад, после входа аудиосигнала — SRPP усилитель на лампе 5751, это миниатюрный двойной триод. Но и другие лампы могут быть использованы в драйвере, ближайший аналог — 12AX7, которая даст дополнительное усиление. Ещё 12AU7, ECC82 и ECC802S могут использоваться, но они не будут в состоянии обеспечить достаточное усиление, чтобы раскачать KT88 на полную мощность.
Выходной каскад является инвертирующим Push-Pull усилителем, который базируется на стандартном включении. Есть только один разделительный конденсатор по всему сигнальному пути, что очень хорошо. Элегантность и абсолютная простота этой схемы усилителя понравится всем аудиофилам, которые предпочитают как можно меньше компонентов в тракте сигнала.
Гармонические искажения
Любой усилитель вносит в сигнал некоторые дополнения, которые имеют частоту кратную к частоте основного сигнала. Эти дополнения называют гармониками, а относительная величина этих дополнений определяется коэффициентом нелинейных искажений (КНИ или THD). Если у транзисторного усилителя при 1/10 от максимальной мощности величина КНИ имеет порядок от 0,002 до 0,06%, то для типичного лампового усилителя этот показатель от 0,1 до 0,5%. При этом в диапазоне комфортной громкости величина КНИ меняется, скажем, от 0,02 до 0,35%. Поэтому спектр музыкального сигнала как бы «дышит» в зависимости от громкости, и благодаря этой особенности «лампы» те же инструменты звучат как бы богаче. Правда, гармоники высших порядков попутно ухудшают передачу верхних звуковых частот, но в хорошем ламповом усилителе уровень высших гармоник, как правило, намного ниже. Тогда как в транзисторных усилителях избавиться от них бывает очень непросто. У однотактных усилителей трансформатор устроен не совсем так, как у двухтактных, а потому и спектр гармоник у него иной, чётные составляющие чаще всего больше по амплитуде, чем нечётные. Этим обусловлен особый «тёплый» характер звучания таких усилителей.
Можно (и не без оснований) возразить, что такого рода украшательство является искусственным, оно как бы наносит «макияж», за которым трудно рассмотреть живой звук. Ну, правильно подобранный макияж лишь подчёркивает природную красоту «объекта». А при первичной записи музыки микрофон убирает часть гармоник ещё «в воздухе». И потом, запись, это продукт, созданный трудом звукорежиссёра, и «живой» звук именно в такой форме, как мы слышим, никогда не существовал. И, кстати, звукорежиссёры очень часто используют «гармонайзер», который делает, как раз, то же, что и ламповый усилитель.
Luxman sq-n100 в работе
Однотактные и двухтактные ламповые усилители
Прежде, чем перейти к рассмотрению преимуществ этих устройств, стоит разобраться в специфике их классификации. И в этом плане первым пунктом является их разделение на две большие группы – однотактовые и двухтактные приборы.

Однотактный ламповый усилитель отличается простотой конструкции и имеет всего два усиливающих компонента (два каскада усиления). Они стимулируют увеличение как положительной, так и отрицательной полуволн звукового сигнала. В итоге на выходе из прибора такой конструкции звук приобретает высокую прозрачность и практически не имеет постороннего окрашивания. Однотактовые модели на лампах принадлежат к классам усиления А1 и реже – А2.
Устранение помех
Позже нужно устранить низкочастотный фон, если, конечно, он присутствует. Также важным пунктом является выбор точки заземления. В этом случае можно применить один из вариантов:
- Тип соединения – звезда, при котором все «земляные» проводники соединяются в одну точку.
- Второй способ – прокладка толстой медной шины. На нее необходимо распаивать соответствующие элементы.
Вообще, лучше самостоятельно найти точку заземления. Это можно сделать, определив уровень низкочастотного фона на слух. Чтобы это сделать, нужно постепенно замкнуть все сетки ламп, которые расположены на земле. Если при замыкании последующего контакта снижается уровень низкочастотного фона, то вы нашли подходящую лампу. Чтобы добиться желаемого результата, необходимо экспериментально устранять нежелательные частоты. Также нужно применить следующие меры, чтобы улучшить качество своей сборки:
- Чтобы сделать цепи накала радиоламп, нужно применить скрученный провод.
- Лампы, которые используются в предварительном усилителе, нужно закрывать заземленными колпаками.
- Также заземлить необходимо корпусы с переменных резисторов.
Если вы хотите питать накал ламп предварительного усилителя, можно применить постоянный ток. К сожалению, это требует подключения дополнительного блока. Выпрямитель будет нарушать стандарты лампового усилителя Hi-End, так как это полупроводниковый прибор, который мы использовать не будем.
Я выбрал советские лампы и китайскую сборку
Самый простой ламповый усилитель собирается на советских лампах типа 6ж«Х», где Х — цифра от 1 до 12. В зависимости от конкретной цифры, меняется звучание готового устройства и некоторые условия настройки, не критичные для готового изделия.
Преимущество этой схемы — невероятная простота и возможность отказаться от громоздкого трансформатора — лампы этого типа можно питать не переменным, а постоянным током! Вот с этого и начинается «дешево и сердито».
К тому же, лампы этого типа до сих пор выпускаются (завод восстановлен американским бизнесменом). Да и раньше были очень распространены: на любом рынке их можно покупать десятками. Кроме того, их можно заменить на не менее распространенные E180F или 6688. Китайские производители выпускают на базе этих ламп множество готовых аудиорешений различного назначения.
Сочетание ретро и современных технологий

Я выбрал LynePAudio A962, как наиболее доступное и универсальное.
Итак, на борту имеем:
- выходной усилительный каскад на 2 лампах 6ж9 в китайском исполнении,
- встроенный цифровой ЦАП с декодированием аудиопотока 16-32 бит, 44.1/48 КГц,
- поддержка ASIO,
- 2 высокоомных выхода для наушников с импедансом от 16 до 600 Ом,
- линейный стереовыход на RCA для использования в качестве преампа,
- цифровой вход (USB),
- аналоговый вход 3,5 и RCA.
Внушает? Еще как, ведь конечная мощность усилителя — 1,1 Вт для нагрузки в 32 Ома. Для настольной игрушки этой цифры хватит даже мониторы раскачать, не говоря уже о любых портативных наушниках.
Плата аккуратно упакована в красивый корпус и может украсить любой интерьер. Особенно — рабочий стол. Очень круто! И реально экономит время — даже если потом придется дорабатывать.
Внешний вид LynePAudio A962 действительно стоит того, чтобы купить готовое изделие, а не заморачиваться самоделкой. Удобство и простота использования еще важнее. Включил — пользуйся.
Для работы с цифровыми источниками аудиосигнала не требуются драйвера или дополнительный софт (если не использовать смартфон). Встроенный ЦАП цифровой и переваривает большинство форматов, поступающих с компьютера или смартфона: съедает и MP3, и FLAC, и WAV. Впрочем, есть ограничение до 32 бит и 48 КГц. DSD не переваривает вовсе.
При наличии качественного ЦАП можно обойтись без встроенного. Для этого у LynePAudio A962 есть отдельный аналоговый вход (мини-джек на 3,5 миллиметра). Не самое правильное решение, но иногда пригодится. Он работает на удивление стабильно, но требует толстый провод. Желательно — с хорошим экранированием.
Фонокорректор
Фонокорректор RIAA (пентодный, с непосредственной связью между каскадами).
Входные лампы — 6Ж38П-ЕВ, выходная 6Н6П. Сигнал передается на выход с усилением 0,95. В цепях коррекции используются точные конденсаторы. Анодное питание — стабилизированное. Отклонения от RIAA не более 0,5 дб.

Виниловодом я стал относительно недавно, хотя много раз приходилось слышать винил в разных системах и его звучание мне нравилось. Проигрыватель и картридж у меня самые, что ни на есть бюджетные: Pro-Ject 1 Xpression III Comfort + Ortofon 2M Red. Поэтому, на сильный прирост в качестве звучания при замене тракта я не рассчитывал. Как оказалось, очень зря. На первой же пластинке «Dave Brubeck’s Greatest Hits» (Columbia 9284), некоторые инструменты просто материализовались в воздухе, чего я уж никак не ожидал. Теперь крепко задумался, нужно ли мне вообще апгрейдить свой проигрыватель, если звук и так устраивает, тем более что, винил не основной источник. Да, чудес не бывает, бюджетный виниловый сетап не зазвучал, как хай-энд, но есть ощущение, что полностью ламповый тракт выжимает из него максимум, подчеркивая все достоинства и маскируя недостатки.
Страшно представить, как будут звучать в данной системе дорогие вертушка и головка. Тем более, что вопрос апгрейда в этом случае, требует тщательного подхода. По словам мастера, МС-голову к ламповому фонокорректору цеплять сложно, нужен специальный повышающий трансформатор, из-за чего возможны шумы и искажения, которые могут свести на нет все плюсы данной затеи. Такое же мнение озвучивает Александр Червяков с сайта «Ламповый рай».
Радиосхемы Схемы электрические принципиальные
категория Схемы усилителей материалы в категории * Подкатегория Схемы ламповых усилителей
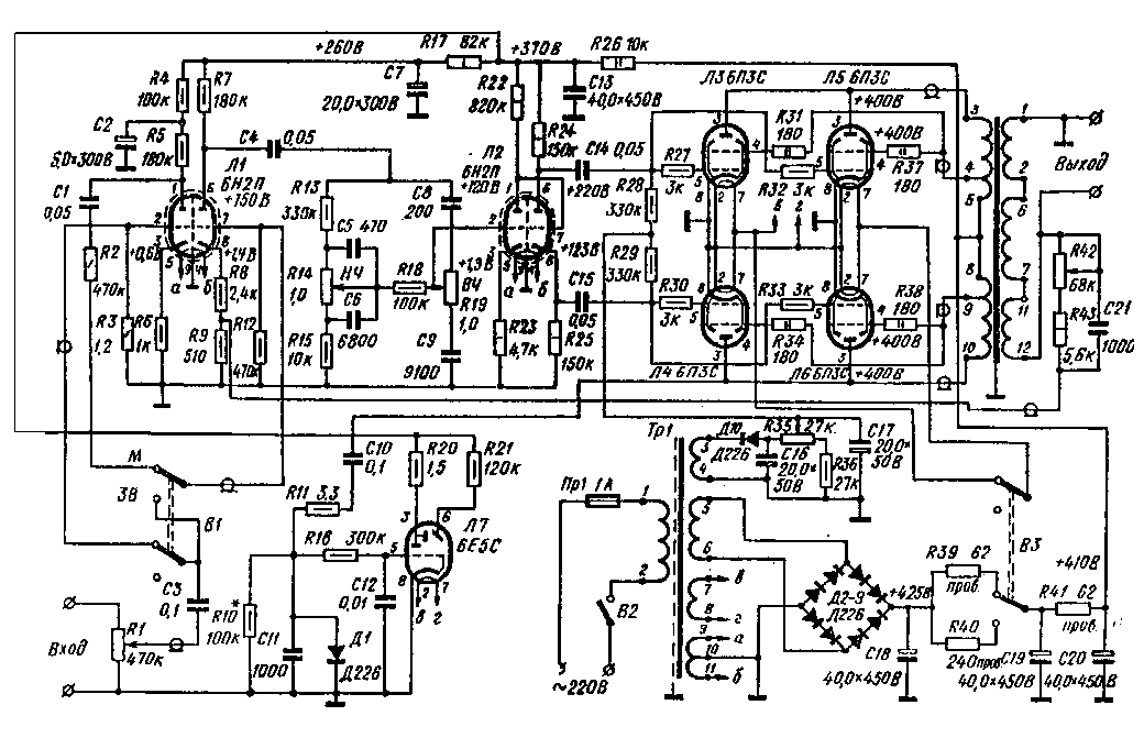
Достоинством данного лампового усилителя мощности низкой частоты А. Баева (МРБ-1967) является то, что он собран из широко распространенных радиодеталей, электрическая схема его хорошо отработана и при повторении легко налаживается с помощью одного вольтамперметра.
Основные характеристики:
Усилитель развивает максимальную выходную мощность 30 или 60 Вт в зависимости от того, сколько ламп работает в выходном каскаде (две или четыре).
Полоса воспроизводимых частот 30…18000 Гц; нелинейность частотной характеристики не более 3 дБ. Чувствительность в режиме работы ”Микрофон” порядка 5 мВ, а в режиме ”3вукосниматель” — 150 мВ. Питается усилитель от сети 220 В; потребляемая мощность 80-160 Вт в зависимости от выходной мощности.
Схема усилителя

Микрофонный усилитель собран на левом триоде лампы Л1. С нагрузки этого каскада через конденсатор С1 и переключатель ”Микрофон-звукосниматель” (В1) сигнал поступает на сетку правого триода Л1. В цепь катода (R9) второго каскада подается сигнал отрицательной обратной связи с выхода УНЧ (резисторы R42, R43 и конденсатор С21). Таким образом, весь усилитель охвачен глубокой отрицательной обратной связью, значительно снижающей нелинейные искажения.
Анодные цепи лампы Л1 питаются через развязывающие фильтры С2, R4 и С7, R17, уменьшающие фон переменного тока и предотвращающие паразитную связь между каскадами. После каскадов предварительного усиления включены цепи регулировки тембров по низшим и высшим звуковым частотам.
Особенностью оконечного каскада является то, что в целях уменьшения выходной мощности и повышения экономичности усилителя имеется возможность отключения двух выходных ламп (Л5 и Л6) переключателем В3. При отключении двух ламп сопротивление нагрузки оконечных ламп увеличится в два раза, следовательно, и сопротивление нагрузки должно увеличиться в два раза; в этом случае для создания оптимального режима работы выходного каскада следует отключить одну звуковую колонку.
В нашем случае это условие выполняется: сопротивление двух звуковых колонок, включенных параллельно, составляет 14 Ом, а одной — 28 Ом.
Конструктивные параметры трансформаторов схемы приведены в таблице, а расположение обмоток выходного трансформатора — на рис.30.
| Обозначение обмотки на схеме | Число витков | Марка и диаметр провода Сердечники | ||
| Тр1 | 1 — 2 | 600 | ПЭВ 0,69 | Ш25х80 |
| 3 — 4 | 92 | ПЭВ 0,2 | ||
| 5 — 6 | 908 | ПЭВ 0,47 | ||
| 7 — 8 | 18 | ПЭВ 1,3 | ||
| 9 — 10 — 11 | 9 + 9 | ПЭВ 0,8 | ||
| экран | Один слой | ПЭЛШО 0,1 | ||
| Тр2 | 1 — 2 | 62 | ПЭВ 1,0 | Ш25х70 |
| 3 — 4 | 1100 | ПЭВ 0,29 | ||
| 4 — 5 | 700 | ПЭВ 0,29 | ||
| 6 — 7 | 124 | ПЭВ 1,0 | ||
| 8 — 9 | 700 | ПЭВ 0,29 | ||
| 9 — 10 | 1100 | ПЭВ 0,29 | ||
| 11 — 12 | 62 | ПЭВ 1,0 |
| Сопротивление нагрузки по постоянному току, Ом | Число витков вторичной обмотки | |
| Для 2-х ламп | Для 4-х ламп | |
| 2,25 | 70 | 99 |
| 5,5 | 110 | 152 |
| 8 | 131 | 180 |
| 10 | 147 | 207 |
| 11 | 152 | 216 |
| 14 | 175 | 248 |
| 28 | 248 | 350 |
Налаживание усилителя в основном заключается в проверке и установке режимов работы радиоламп в соответствии с указанными на принципиальной схеме (рис.29). После окончательной проверки монтажа включают питание и проверяют правильность подключения вторичной обмотки выходного трансформатора. Если усилитель возбуждается, следует поменять местами выводы вторичной обмотки. Затем с помощью потенциометра R35 устанавливают напряжение (-38 В) на управляющих сетках ламп выходного каскада. После этого проверяют режимы работы всех остальных каскадов. В случае их отклонения от нормы более чем на 10% необходимо проверить номиналы резисторов и исправность конденсаторов. В последнюю очередь потенциометром R42 устанавливают величину ООС, руководствуясь тем, что при очень глубокой связи возможно возбуждение УМЗЧ на ультранизких частотах, а при малой связи за счет большего коэффициента усиления появляется повышенный фон переменного тока.
Корпус лампового усилителя для наушников
Первым делом было сделаны все необходимые отверстия. А под разъёмы для входа/выхода и отверстие для регулятора громкости. На задней стенке был сделано отверстие под интерфейс для сетевого питания.
Это готовый блочек, в котором уже совмещены разъем для сетевого провода, выключатель и предохранитель. Потрясающая штука, заказывал в этом магазине всего по 95 центов:

Когда все отверстия готовы, а новых не предвидится – пора переходить к отделочным работам. Для придания корпусу солидного вида – он был отшкурен до металла, затем отшпаклеван автомобильной шпатлевкой. И, после тщательного прошкуривания, я покрыл его тремя слоями черной краски с промежуточными прошкуриваниями.
Исходно, по классике жанра, корпус предполагался черным матовым. Но, увы, нормальную краску удалось достать только глянцевую. Я использовал акриловую нитрокраску. Однако последний слой, так получилось, я наносил при температуре около 17 градусов, что ниже указанной в условиях нанесения. В результате слой таки получился матовым.
Кожух трансформатора красился вместе с корпусом.
Ламповый усилитель Hi-End своими руками
Перед началом монтажа необходимо разобраться с некоторыми правилами для сборки такого рода приборов. Нам необходимо будет применить основной принцип монтажа ламповых приборов – минимизацию креплений. Что это значит? Вам нужно будет отказаться от монтажных проводов. Конечно, это не везде получится сделать, но их количество необходимо свести к минимуму.
В хорошем ламповом усилителе Hi-End применяются монтажные лепестки и планки. Они используются в виде дополнительных точек. Такая сборка называется навесной. Также вам нужно будет распаивать резисторы и конденсаторы, которые находятся на ламповых панелях. Крайне не рекомендуется использовать печатные платы и собирать проводники так, чтобы получились параллельные линии. Таким образом сборка будет выглядеть хаотичной.
Однотактные ламповые усилители SE на 6П3С, 6П14П, 6П45С и других лампах. SE — сокращенное от Single-Ended (возможно, «справляюсь в одиночку»?) .
- 0.8Вт. Усилитель на одной лампе 6Ж52П.
- 1Вт. Ламповый усилитель на 6Н8С, 4П1Л.
- 1Вт. Ламповый УНЧ на 4Ж1Л, 4П1Л.
- 1.5Вт Ламповый усилитель на 6С45П для компьютера.
- 1.5Вт Одноламповый УНЧ на 6Ф3П.
- 1.5Вт Одноламповый УНЧ на 6Ф5П.
- 2.5Вт Ламповый усилитель на 6Ф3П для начинающих.
- 3Вт. Однотактный ламповый УНЧ на 6Ж1П, 6П1П.
- 3Вт. Усилитель с непосредственной связью каскадов на 6П14П, 6Ж1П.
- 3Вт. Усилитель на лампах 6П14П, 6Н2П
с регулятором тембра. - 3.5Вт. Ультралинейный усилитель на 6П14П, 6Н2П.
- 3.5Вт. Высококачественный усилитель на 6Н5С, 6Н2П, 6Ж1П.
- 4.5Вт. Усилитель SE для CD, DVD на лампах 6П45С, 6Ж52П.
- 4.5Вт. Стереофонический трёхламповый усилитель на
6П14П, 6Н23П. - 4.5Вт. Ламповый усилитель на 6П36С, 6Н3П.
- 6Вт. Усилитель на 6П36С, 6Н2П (из ТВ деталей).
- 6.5Вт. Ламповый усилитель на
6П3С, 6Н2П. - 7Вт. Однотактный ламповый усилитель на
6П3С, 6Н9С. - 7Вт. Однотактный ламповый усилитель на двух
6П3С, 6Н9С. - 8Вт. Ламповый УНЧ на 6П14П, 6П45С.
- 8Вт. Усилитель на 6П3С, 6Н2П.
- 8Вт. Усилитель с параллельным включением лампы 6Н5С в выходном каскаде.
- 10Вт. Высококачественный ламповый усилитель на 811А, 6L6G.
- 12Вт. Однотактный ламповый усилитель на ГУ-29 и 6Н23П.
- 15Вт. УНЧ на 6Ф3П и 6KG6.
- 80Вт. Мощный однотактный ламповый УНЧ с глубокой обратной связью.
- Усилитель на лампе 6С4С.
- Ламповый усилитель для компьютера на 6П14П, 6Ж1П.
- Лофтин-Уайт на 6Ф2П.
- Усилитель на 6Ф6С, 6Н9С (6Н8С).
- Ламповый УНЧ на 6П3С, 6Н8С.
- Ламповый усилитель на 6П3С, 6Н8С.
- Высококачественный усилитель на лампах Г-807, 6Э5П.
- Ламповый усилитель на 6Н9С, 6П31С в триодном включении
- Однотактный ламповый усилитель на 6С41С, 6Э5П
- SE усилитель на лампах
6П3С и 6Н8С. - Однотактный ламповый усилитель на 6С4С, 6Н9С.
- SE усилитель на 6С19П, EF860.
- Усилитель по схеме Лофтин-Уайт, на 6Ф5П.
- Простой однотактный усилитель на 6П42С
- Однотактный УНЧ на 4П1Л.
- Однотактный УНЧ на 6П3С, 6Н9С.
- Усилитель SE на 6Н30П, 6Э5П.
- Усилитель SE на 6П43П, 6Ж52П.
- Усилитель на лампах 6С33С, 6Ж52П.
Популярные лампы в усилителях: 6П14П, 6П3С
последняя rlamp — 51
Вернуться к справочникам по электронным компонентам
Справочник по радиолампам.
Список элементов
Усилитель
- R1, R1A — 1 кОм,
- R2, R2A — 470 кОм,
- R3, R3A — 150 кОм,
- R4, R4A — 1-1,5 кОм,
- R5, R5A — 150-200 кОм
- R6, R6A — 470 кОм,
- R7, R7A — 1 кОм,
- R8 — 500-1000 Ом, отрегулируйте ток сетки, чтобы он не превышал 5 мА,
- R9, R9A — 120-180 Ом, подберите для получения нужного тока катода,
- R10, R10A — 5-20 кОм,
- R11 — 10-20 кОм,
- P — 2×47 кОм / логарифмический,
- C1, C1A — 100 мкФ / 16 В,
- C2, C2A — 100-220 нФ / 250 В,
- C3 — 100 нФ / 400 В,
- C4 — 47 мкФ / 400 В,
- C5, C5A — 100 мкФ / 25 В,
- C7 — 33-100 пФ, выбрать чтобы он не срезал высокие частоты и сигнал осциллографа был правильным,
- C6, C6A — около 1 нФ / 250 В припаять непосредственно к выходам трансформатора громкоговорителя.
Блок питания
- R101 — 400-1000 Ом / 5 Вт,
- R102, — 3-5 кОм / 1 Вт,
- R103 — 270 кОм / 0,5 Вт,
- R106 — 0,8-1,5 кОм чтобы светодиод светил достаточно ярко,
- R104, R105 — 100 Ом,
- C101 — 100 нФ / 400 В, C102, C103, C104, 105 — 100 мкФ / 400 В,
- C106, C107 — 47 мкФ / 400 В,
- M1 — диодный мост выпрямитель 5-10 А / 600 В,
- трансформатор питания 220 В / 250 В — 0,15 А, 6,3 В — 2,5 A.
Схема очень проста. На рисунке показан один канал, другой идентичен. Сигнал со входа через потенциометр P подается на триоды малой мощности (L1), работающие в схеме с общим катодом. После усиления на пентод (L2) подается через конденсатор C2. Трансформатор громкоговорителя (его анодная обмотка) является нагрузкой для этой лампы. Вторичные обмотки трансформатора позволяют питать динамик или наушники.
Усилитель охвачен петлей отрицательной обратной связи, которая уменьшает искажения и расширяет частотную характеристику. Однако это делается за счет усиления. Обратная связь берется с выхода динамика трансформатора и через резистор R10 подается на катод первой лампы (L1). Конденсатор С7 используется для возможной фазовой коррекции. Конденсаторы C3, C4 и резистор R11 образуют фильтр для предотвращения возбуждения усилителя. Аналогичную роль играют резисторы R1 и R7 в цепях ламповых сеток.
Радиолампа L2 может работать в двух режимах — пентод и триод. Режим пентод более мощный, с большим искажением. Режим триода менее эффективен, но имеет меньше искажений. Изменение режима работы может быть сделано с резистором R8. Он в режиме триода должен иметь небольшое значение — обычно это 100 Ом. Если хотим использовать режим пентод для работы усилителя, подключаем R8 как показано на схеме. Можно дать и более высокое значение но так, чтобы ток, протекающий через сетку 2, был немного меньше 5 мА. Как правило значение резистора составляет 500-1000 Ом.
Для подключения громкоговорителей необходим трансформатор, который изменит высокое напряжение в анодной цепи подходящим для сопротивления динамиков или наушников. Для этой цели идеально подходят популярные и простые в добыче трансформаторы из старого лампового телевизора. Естественно понадобится два, по одному на канал.
Можете поэкспериментировать с другими лампами, вместо 6П14П использовать более мощные пентоды (например 6L6 или другие) но помните, что это требует изменения напряжения питания, силовой трансформатор должен иметь также большую мощность. Значения элементов, определяющих рабочую точку лампы, тоже должны быть соответствующим образом подобраны, и трансформаторы АС должны быть адаптированы к типу ламп. Схемы таких усилителей можно легко найти на нашем сайте.
Выбор схем для сборки
Предварительный усилитель довольно просто собрать. Для него вы можете выбрать любую подходящую схему и начать сборку. Другой случай – выходной каскад, то есть усилитель мощности. С ним, как правило, возникает множество различных вопросов. Выходной каскад имеет несколько типов сборки и режимов работы.
Первый тип – однотактная модель, которая считается стандартным каскадом. При работе в режиме «А» он имеет небольшие нелинейные искажения, но, к сожалению, имеет довольно плохой КПД. Также следует отметить среднюю выходную мощность. Если вам необходимо полностью озвучить довольно большое помещение, необходимо будет применять двухтактный усилитель мощности. Эта модель может работать в режиме «АВ».
В однотактной схеме для хорошей работы устройства достаточно всего двух частей: усилителя мощности и предварительного усилителя. В двухтактной модели уже используется фазоинверсный усилитель или драйвер.
Конечно, для двух типов выходного каскада, чтобы комфортно работать с акустической системой, необходимо согласовать высокое межэлектродное сопротивление и низкое сопротивление самого прибора. Это можно сделать с помощью трансформатора.
Если вы являетесь ценителем «лампового» звучания, то должны понимать, что необходимо использовать выпрямитель, который произведен на кенотроне, для достижения такого звука. При этом нельзя использовать полупроводниковые детали.
Разрабатывая ламповый усилитель Hi-End, можно не применять сложные схемы. Если вам нужно озвучить достаточно небольшое помещение, то можно применить простую однотактную конструкцию, которую проще сделать и настроить.





