Ремонт БП телевизора
Перед ремонтом телевизионного БП полезно обзавестись его схемой. Принцип работы у этих БП тот же, что и у любого другого. Но он производит несколько выходных напряжений, отчего процесс диагностики немного усложняется.

Схема импульсного источника питания телевизора
Еще одна трудность — наличие нескольких систем защиты при отклонениях Uвых. от нормы. Из-за них, симптомы многих поломок выглядят однообразно: БП вообще не подает признаков работоспособности.
Сегодня схему БП практически любого телевизора можно найти в интернете. На поломку блока питания указывает неработоспособность светодиода, обычно работающего в режиме ожидания. Если же он горит, причину ищут в другом.
В рамках диагностики проверяют следующие элементы:
предохранитель. Если за ним напряжение отсутствует, деталь меняют;
балластные сопротивления. Их обрыв — возможная причина неисправности;
сглаживающие конденсаторы высоковольтного и низковольтного выпрямителей. Возможен пробой;
дроссель LC-фильтра низковольтного выпрямителя. Возможны обрыв и межвитковое замыкание. Если данная модель БП встречается редко, и найти аналогичный дроссель в продаже не удается, его перематывают самостоятельно из провода того же сечения
Важно соблюсти правильное количество витков;
диоды выпрямителей. Чаще выходят из строя полупроводники высоковольтного преобразователя, поскольку они работают под высоким напряжением
В отличие от перечисленных выше радиодеталей, диоды для диагностики приходится выпаивать.
Проверить на работоспособность микросхему инвертора в домашних условиях нельзя. О ее неисправности судят по косвенным признакам: если нормальное состояние всех прочих элементов подтверждено, а БП все равно не работает.
Если предохранитель цел, проверяют напряжение на выходе высоковольтного выпрямителя, интересуют параметры:
- значение;
- амплитуда пульсаций (определяется осциллографом).
Нормальное показатели — от 280 до 320 В. При низких значениях проверяют диоды. Высокая амплитуда пульсаций свидетельствует о неисправности сглаживающего конденсатора или обрыве выпрямителя.
Если напряжение в норме, проверяют характер неисправности, возможны два варианта:
- БП вообще не включается;
- пытается включиться, но отключается системой блокировки (реагирует на заниженное или повышенное выходное напряжение).
Снова применяют осциллограф. Его вход подсоединяют к выводу ключевого транзистора инвертора, подключенного к первичной обмотке трансформатора.
Заземляют прибор на «горячую землю» БП. Если при включении телевизора кнопкой питания на осциллографе появляется серия импульсов, это свидетельствует о попытках запуска. Значит, устройство блокируется одной из защит, например, от превышения анодного напряжения на кинескопе. Это помогает сузить круг поиска неисправности.
Если БП не пытается включиться, проверяют элементы инвертора. Например, замеряют напряжение на коллекторе ключевого транзистора. Оно должно быть таким же, что и на сглаживающем конденсаторе высоковольтного выпрямителя.
Отсутствие напряжения свидетельствует об обрыве первичной обмотки импульсного трансформатора. Заменив поврежденные радиодетали, продолжают проверку БП, включив вместо предохранителя лампочку накаливания мощностью 100 – 150 Вт.
При активации кнопки питания на телевизоре, лампочка ведет себя в соответствии с неисправностью адаптера:

- вспыхивает и сразу гаснет, диод режима ожидания светится, на экране виден растр. Требуется проверка напряжения строчной развертки. Если оно завышено, проверяют и при необходимости меняют конденсаторы и оптронные пары;
- зажглась и потухла, но светодиод не горит, и решетки на экране нет. Это свидетельствует о неработоспособности инвертора. Проверяют напряжение на сглаживающем конденсаторе высоковольтного выпрямителя. При заниженном значении, как уже говорилось, требуется проверка диодов и данного конденсатора;
- горит особенно ярко. В этом случае БП сразу отключают от сети и еще раз проверяют работоспособность всех элементов.
Вердикт
The Frame 2021 оснащен премиальной панелью QLED, мощным процессором Quantum 4K и представлен в широком ассортименте диагоналей. В сравнении с первым The Frame, увидевшим свет в 2021 году, новый дизайнерский телевизор от Samsung стал гораздо более привлекательным, хотя и не лишенным некоторых недостатков.
Аргументы «за»
- Великолепный дизайн
- Сменная рамка
- Премиальный экран QLED
- Графический режим Ambient
- Настенное крепление в комплекте
Аргументы «против»
- Низкая детализация темных сцен
- Невысокая яркость
- Отсутствие виртуального помощника Google Assistant
- Полный доступ в режим «Картина» платный
Проекционный
В основу принципа действия проекционных телевизоров заложен алгоритм передачи качественного изображения с минимизированного передатчика на большой экран. Передаваемое изображение формируется внутри самого проекционного телевизора, при посредстве небольшого источника, составленного из электрических трубок или жидкокристаллического дисплея. Дальше при помощи зеркал и оптических приспособлений его проецируют на подготовленный экран.
Каково устройство телевизора? Вся конструкция состоит из звуковой системы, проектора, панели управления и экрана. В моделях, предназначенных для домашнего использования, все составляющие заключены в общем корпусе. По этой причине они получаются габаритными. Проекционный способ передачи изображения позволяет совмещать мягкость и сочность полученной картинки, а также широкие возможности цветового разрешения. В дополнении изображение, передаваемое проекционными телевизорами, совершенно избавлено от зернистости, которая является недостатком кинескопов.
Другие причины поломки ТВ
Среди типичных и простых причин того, что телик не включается, может выступать пульт ДУ или отсутствие сигнала от антенного кабеля.
Неисправность пульта ДУ
Если телевизор не включается с пульта, для начала, необходимо убедиться в годности батареек. Если они севшие – замените их. Часто телеприемник не может включиться из-за загрязнения контактов под кнопками. Для этого его можно разобрать самому, и очистить контакты мягкой тканью от скопившейся грязи. Если ваш пульт падал, то возможно повреждение кварцевого излучателя. В таком случае он подлежит замене. Ну а если вы залили ПДУ водой или какой-либо другой жидкостью, и он после разборки и просушки не заработал, то его придется заменить на новый.
Более подробно о починке пульта ДУ можно узнать из следующего видео или статьи.
Нет ТВ сигнала
При ремонте телевизоров LG, Sharp c ЖК дисплеем, Рубин, Горизонт с такими же экранами, часто возникает ситуация, когда при вполне исправном аппарате не происходит его включение. Оказывается, причиной может послужить отсутствие ТВ сигнала в антенном кабеле. Происходит это из-за срабатывания защиты шумоподавления (в теликах Рубин, ее стали ставить не так давно), и агрегат переходит в режим ожидания. Поэтому, если вы обнаружили свой телик в нерабочем состоянии, не стоит паниковать, а требуется проверить наличие сигнала от передающей станции.
В заключение можно сказать — когда вы принимаете решение о самостоятельном ремонте телеприемника, следует трезво оценивать свои способности и знания в этом деле. Если вы чувствуете себя не уверенно, то лучше это дело доверить телемастеру, тем более, что 220 В никто не отменял, и незнание элементарных правил безопасности может повлечь за собой неприятные последствия.
https://youtube.com/watch?v=c47eV47Rj5M
Разрешение экрана
Специалисты подразделяют телевизоры по экранному разрешению на три больших группы:
- SD;
- HD;
- Ultra HD.
Для старых ЭЛТ телевизоров доступно только телевидение стандартной четкости — SD. Поскольку большинство телеканалов транслируется до сих пор в этом режиме, модели с разрешением 720×576 пикселей, 720×480 пикселей актуальны и используются большим количеством пользователей.

Для такого телевизора получать доступ к платным каналам в высоком качестве можно при помощи смарт-карты. Она выдается провайдером для подключения либо непосредственно в телевизор, через CAM-модуль, либо через ТВ-приставку.
Телевизоры нового поколения — LED, OLED и плазменные — поддерживают телевидение высокой и сверхвысокой четкости. Наиболее актуальный формат – HDTV (от 1280×720 пикселей до 1920×1080 пикселей). Он доступен на цифровом телевидении.
Стоит отметить, что будущее за UHD TV. Но в настоящее время в этом формате транслируются лишь некоторые телеканалы. Кабельные операторы и поставщики спутниковых услуг постоянно расширяют список каналов, передаваемых в высоком разрешении.
Проекционный
В основу принципа действия проекционных телевизоров заложен алгоритм передачи качественного изображения с минимизированного передатчика на большой экран. Передаваемое изображение формируется внутри самого проекционного телевизора, при посредстве небольшого источника, составленного из электрических трубок или жидкокристаллического дисплея. Дальше при помощи зеркал и оптических приспособлений его проецируют на подготовленный экран.
Каково устройство телевизора? Вся конструкция состоит из звуковой системы, проектора, панели управления и экрана. В моделях, предназначенных для домашнего использования, все составляющие заключены в общем корпусе. По этой причине они получаются габаритными. Проекционный способ передачи изображения позволяет совмещать мягкость и сочность полученной картинки, а также широкие возможности цветового разрешения. В дополнении изображение, передаваемое проекционными телевизорами, совершенно избавлено от зернистости, которая является недостатком кинескопов.
Виды
Порядок и технологии подсветки определяют два вида ЖК-устройств (LCD/LED): Direct LED (подсветка сзади) или Edge LED (подсветка с торцов). Первый вариант – это способ подсветки, когда подсвечивающиеся элементы располагаются позади матрицы, занимая всю площадь контейнера. Диоды располагают в специальных патронах-отражателях, которые крепятся к особым кронштейнам.
Равномерное освещение ЖК-решетки обеспечивает специальное рассеивающее устройство, а тепло отводит радиатор. Монтаж такого вспомогательного оборудования увеличивает толщину устройства примерно на 2 см. При этом, особенно в дешёвых моделях, несколько снижается уровень яркости экрана. Однако падает и уровень электропотребления.
Второй вариант – Edge LED – предполагает размещение диодов на боковых поверхностях светораспределителя. Боковое размещение подсветки предполагает наличие отражающей свет подложки, предназначенной для равномерного распределения света по матрице. Большинство таких устройств выпускаются с функцией локального затемнения. Тем не менее его алгоритмы в недорогих устройствах отработаны слабо и могут функционировать не совсем корректно.
Таким образом, способ подсветки по периметру дисплея даёт хороший уровень яркости и контраста, снижает толщину панели, но способствует увеличению электропотребления.
Как проверить блок питания
Для того чтобы правильно осуществить проверку с целью дальнейшего обращения в сервисный центр или самостоятельной починки, необходимо выполнить следующий алгоритм действий:
- Отключите телевизор от сети.
- Разрядите конденсатор, расположенный в корпусе.
- После этого аккуратно достаньте плату из корпуса телевизора.
- Осмотрите её и внешне оцените наличие возможных дефектов.
- При помощи мультиметра проверьте исправность всех составляющих компонентов электрической цепи.
- Также следует внимательно осмотреть и заднюю поверхность платы.

Если при внешнем осмотре были замечены явные признаки поломки, скорее всего, устранить причину достаточно обычной заменой компонентов на новые.
Более сложные манипуляции потребуют специальных навыков, поэтому лучше всего обратиться к специалисту, который разбирается в этом. Дальнейшая работа будет заключаться в специальной и высокоточной проверке напряжения по всей цепи. Это связано с риском для жизни и здоровья, поэтому безопаснее и надёжнее будет доверить технику мастеру.
Подпишитесь на наши Социальные сети
Решение для «умного» телевидения

Android TV — это модификация известной мобильной операционной системы, предназначенная для установки в мультимедийные приставки.
Аксессуар подключается через HDMI-интерфейс и позволяет запускать любые Android-приложения на экране телевизора.
Также такие консоли поддерживают технологию IPTV, благодаря которой пользователь может смотреть телевизионный эфир с помощью интернет-соединения.
Приобрести Android-приставку можно в магазинах большинства крупных ритейлеров (например, в М.Видео) или на таких онлайн-площадках, как AliExpress и eBay.
Итог
Цифровая приставка совместима с любым телевизором — будь то советский «Горизонт» или современный аппарат с поддержкой технологии Смарт ТВ.
Хотя стандарт DVB-T2 проигрывает по всем техническим показателям спутниковому телевидению, именно относительно дешёвое цифровое эфирное вещание пользуется наибольшей популярностью на территории стран СНГ.
Возможности Smart TV
Многие телевизоры (даже модели начального уровня) оснащены платформой Smart TV. Как легко догадаться, это прошивка, которая позволяет значительно увеличить функциональность ТВ-панели. Опять же каждый определяет для себя сам, нужен ли ему «умный» телевизор или нет. Прошивки от лидеров индустрии имеют разный дизайн, разную эргономику, разный подход к управлению, однако, в принципе, все они работают по одному и тому же принципу: позволяют запускать приложения (в основном речь идет об онлайн-кинотеатрах и других развлекательных сервисах) и обеспечивать доступ в Интернет без помощи компьютера.
Также для телевизоров существуют приложения для мобильных телефонов и планшетов, превращающих эти самые гаджеты, например, в дополнительный пульт управления.
Разрешение экрана
Под этим термином скрывается количество и плотность пикселей, приходящихся на экран. Чем больше значение, тем четче изображение. Разрешение классифицируют по типам:
- SD (стандартная четкость). Число пикселей – 720×576 или 720×480. Относится к изжившим себя технологиям. В магазинах не представлена. Но так как большинство бесплатных каналов транслируются именно в этом формате, то телевизоры с SD-разрешением все еще актуальны.
- HD (высокая четкость). Разрешение 1280×720 точек. Имеет смысл, если диагональ экрана невелика. В противном случае лучше остановиться на более перспективных вариантах.
- FULL HD. Популярный широкоэкранный формат с разрешением 1920×1080 пикселей. Несмотря на качество видеоизображения, далеко не все провайдеры предоставляют доступ к контенту под это разрешение.
- Ultra HD или 4K (ультравысокая четкость). Разрешение 3840×2160. Стандарт выдает самую высокую четкость и реалистичную картинку. Но торопиться менять FULL HD на 4К телевизор не стоит – большинство фильмов, сериалов и телепередач производятся в предыдущих форматах.
История проекционных телевизоров
За все время своего существования технология прошла через пик популярности к практически полному его угасанию. Самые первые телевизоры с проекторами отличались большим количеством недостатков:
- плохой угол обзора;
- низкое качество подсветки экрана;
- недостаточно хороший уровень контрастности и яркости.
Поэтому нет ничего удивительного в том, что с появлением современных LED телевизоров, проекционные модели практически полностью переставали пользоваться спросом.

Советский проекционный телевизор
Однако с появлением телеканалов с высокой четкостью HDTV возникла необходимость показа изображения высокого качества на широкоэкранных телевизорах. Проекционные модели снова стали набирать популярность. Технология, используемая при их создании, стала наиболее востребованной в телевизорах с диагональю 50 дюймов и более. Как оказалось, изображение высокого качества стало экономически выгодным именно на проекционных телевизорах.
В странах Западной Европы, Японии и США настоящая популярность новых технологий пришлась на конец 2000-х годов, когда был зафиксирован бум в покупке проекционных телевизоров. Постепенно на рынок электронной техники вышли более дешевые плоскопанельные LCD и плазменные телевизоры, и крупные проекционные модели стали быстро терять свою популярность.
Мощность и тип излучателя
Плазменные экраны обладают показателями яркости ниже, чем ЖК и LED-телевизоры. Цены и характеристики ранее преобладали у первого типа ТВ, но со временем новые технологии взяли вверх. Однако плазма до сих пор передаёт более насыщенные краски за счет использования разряда непосредственно в точке свечения.

LED-телевизоры оснащаются излучателями, обеспечивающими световой поток мощностью до 500 кд/м*2. Подсветка пикселей требует наличия мощной лампы за экраном, располагающейся внизу по центру в единичном экземпляре или двухрядным размещением. Последние модели ТВ оснащаются яркими диодами, устраняется эффект пропадания цветности при изменении угла обзора.
Расположение телевизора
Популярные варианты размещения тв-панели.
В углу
С помощью данного расположения, получается, не только максимально функционально использовать угловое пространство, но и рационализировать и оптимизировать малогабаритную комнату.
На фото современная спальня и плазменный телевизор с угловым настенным расположением.
У окна
Место у оконного проема или простенок между окнами, можно без проблем превратить в тв-зону, которая не будет занимать много полезной площади.

В нише из гипсокартона
Обычная гипсокартонная ниша или углубление, дополненное встроенной подсветкой или выделенное с помощью контрастного цвета обоев или другой отделки, позволяет акцентировать внимание на тв-зоне и удобно скрыть телевизионные провода, антенну и кабели

На фото телевизор, размещенный в нише из гипсокартона в интерьере детской комнаты.
На фальш-стене
Данные конструкции применяются для функционального зонирования пространства в студии, поэтому размещение тв в первую очередь зависит, не только от фантазии дизайнера, но и от планировки всего помещения.

На фото плазменный телевизор на скошенной стене, выступающей в качестве перегородки.
Встроенный в мебель
Модульные системы мебели предоставляют оптимальное и очень практичное решение для встраивания различной техники, в том числе и телевизионной.

На фото гостиная и модульный шкаф коричневого цвета со встроенным плазменным телевизором.
Арка
Закругленная арочная форма со встроенными светильниками или без, обрамляет тв-устройство, делает на нем акцент и придает стене оригинальный и стильный вид.
Кинескопные экраны
Несмотря на то, что на сегодняшний день большинство потребителей отдает предпочтение самым современным плазмам, кинескопные экраны тоже все еще пользуются спросом. У таких телевизоров есть свои преимущества: они недорого стоят, легки в управление, а качество передаваемой картинки по-прежнему высокое.

Основные неполадки кинескопных устройств:
- кинескопный телевизор не включается – также как, и на устройствах другого типа в первую очередь нужно проверить целостность предохранителей;
- неисправность диодного моста – частая проблема кинескопных приемников, починить телевизор можно, только после выполнения «прозвона», из оборудования понадобится мультиметр;
- поломка позистора – считается самой серьезной проблемой, для того чтобы произвести проверку, необходимо цепь питания телевизора выключить, затем снова запустить. После, наблюдать за лампой, если она гаснет, это значит, что позистор вышел из строя. В первую очередь нужно отрегулировать сопротивление сети, а затем произвести замену детали;
- перегорание транзистора или конденсатора – такую неполадку легко заменить при визуальной проверке (на детали нагар черного цвета), ремонт осуществляется путем замены детали.
Проекционный
В основу принципа действия проекционных телевизоров заложен алгоритм передачи качественного изображения с минимизированного передатчика на большой экран. Передаваемое изображение формируется внутри самого проекционного телевизора, при посредстве небольшого источника, составленного из электрических трубок или жидкокристаллического дисплея. Дальше при помощи зеркал и оптических приспособлений его проецируют на подготовленный экран.
Каково устройство телевизора? Вся конструкция состоит из звуковой системы, проектора, панели управления и экрана. В моделях, предназначенных для домашнего использования, все составляющие заключены в общем корпусе. По этой причине они получаются габаритными. Проекционный способ передачи изображения позволяет совмещать мягкость и сочность полученной картинки, а также широкие возможности цветового разрешения. В дополнении изображение, передаваемое проекционными телевизорами, совершенно избавлено от зернистости, которая является недостатком кинескопов.
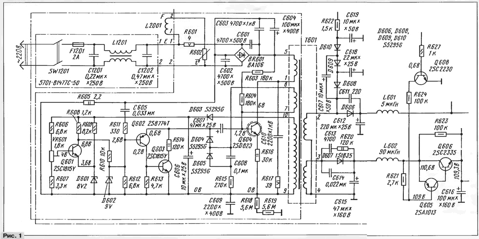
Пошаговая инструкция по ремонту блока питания телевизора
Блоки питания современных телевизоров имеют, как правило, типовую схему. Имеющиеся различия сводятся лишь к размерам электронных элементов и выходной мощности. В связи с этим диагностика и ремонт происходят по одной методике.
Типовая схема блока питания зарубежного телевизора:

Необходимые инструменты и материалы
Для ремонта следует запастись инструментами и материалами, без которых качественно устранить неисправность не получится:
- паяльник, имеющий регулируемую мощность;
- припой, спирт (очищенный бензин), флюс;
- удалитель расплавленного припоя;
- отвертки в наборе;
- кусачки (бокорезы);
- пинцет;
- тестер (мультиметр);
- лампа 100 ватт.

Начиная ремонт блока питания телевизора, необходимо иметь под рукой принципиальную схему модели (при отсутствии таковой ее можно скачать в Интернете на официальном сайте производителя).
Пошаговая инструкция по устранению неисправности блока питания
Соблюдая последовательность схемы проверки и устранения неисправности, можно обнаружить и отремонтировать основные повреждения блока питания телевизора:
- Проверяем питающий шнур, розетку и/или удлинитель на отсутствие повреждений.
- Разбираем телевизор и освобождаем электронную плату.
- Осматриваем платы блока питания, выявляя, есть ли вздувшиеся конденсаторы, лопнувшие корпуса, обугленные резисторы.
- Проверяем пайки, особенно пропайку контактов импульсного трансформатора.
- Если не получилось визуально выявить поврежденный элемент, последовательно тестируем предохранители, диоды, электролитические транзисторы и конденсаторы. Однако установить поломку управляющих микросхем возможно лишь косвенно – когда нет питания, а все дискретные элементы исправны. На практике случается, что при неработающем модуле питания остается целым предохранитель. Подобное обстоятельство может указывать на проблему с транзистором генератора высокочастотных импульсов.
- Проверяем, не выпаивая из платы, нет ли обрыва балластного сопротивления, короткого замыкания высоковольтного фильтрующего конденсатора, перегорания (пробоя) выпрямительных диодов.
- Выявив поврежденный элемент, производим его замену.
- Если неисправность диагностируется при нагревании телевизора, устранить ее можно, охладив неисправный элемент с помощью смоченной в спирте или ацетоне ватной палочки. Если неизвестно, какая конкретно деталь является причиной, можно спровоцировать проявление неисправности, нагревая тот или иной элемент паяльником.
- Проводим проверку сделанного ремонта. Устанавливаем лампу на место предохранителя, включаем телевизор в сеть. Если лампочка загорается и тухнет, светит индикатор, виден растр на экране, первым делом производим замер напряжения строчной развертки. Если оно завышено, проверяем и заменяем электролитические конденсаторы. Такое же поведение наблюдается и при выходе из строя оптронных пар.
- Если при вспыхивающей и гаснущей лампочке индикатор молчит, растра нет, это указывает на проблему запуска генератора импульсов. Проводим проверку уровня напряжения на электролитическом конденсаторе фильтра высоковольтной части. Если она показывает не более 279 вольт, ищем причину в пробитых диодах выпрямительного моста либо утечки конденсатора. Если напряжения нет совсем, проводим повторную проверку цепей питания. Также нужно протестировать все диоды выпрямителя высокого напряжения.
- При сильном свечении лампы сразу же отключаем телевизор от сети. Вновь тестируем все электронные элементы.
Ремонт блока питания телевизора Samsung UA32EH4003:
Watch this video on YouTube
Как происходит пошаговая диагностика неисправности блока питания телевизора и как осуществляется ремонт этого устройства, рассказывается в этом обучающем видеоролике:
Watch this video on YouTube
Ремонт импульсных блоков питания телевизоров:
Watch this video on YouTube
Выход из строя блока питания – одна из частых причин поломки телевизора. Руководствуясь пошаговой инструкцией, можно провести ремонт самостоятельно. При отсутствии достаточной практики и теоретических знаний лучше сразу обратиться в ремонтную мастерскую, чтобы избежать возникновения более серьезных проблем.
Что это такое?
Кинескопный телевизор (другое название — ЭЛТ-телевизор) много десятилетий был единственным вариантом домашней телевизионной техники. И не только домашней – даже в профессиональном сегменте серьезных альтернатив ему не было. Многие такие устройства работают несколько десятилетий подряд, и сейчас еще можно найти немало работоспособных телеприемников с кинескопом, выпущенных в 1990-е или даже 1980-е годы. Да, развитие технологий не стоит на месте, и сегодня подобные модели выпускаются только в экономичном сегменте. Но это не значит, что они плохи или не заслуживают потребительского внимания.
При этом, однако, даже самая лучшая кинескопная аппаратура имеет существенные размеры и достаточно тяжела. Против этой техники свидетельствует еще и значительное потребление энергии. Электронная трубка восприимчива к действию магнитных полей. У нее иногда мерцает экран, что утомляет глаз, и избавиться от мерцания нельзя по чисто техническим причинам.
Подбор места, в котором будет установлен телевизор
Замечательно, если кухня имеет большую площадь и выбор места для установки панели не имеет ограничений. Как правило, помещения, в которых готовят пищу, имеют малую площадь.
Помимо нехватки места, необходимо, чтобы небольшой телевизор на кухне гармонично вписывался в интерьер. Самое лучшее место для монтажа панели в любой по площади кухне, является стена.
При такой установке, телевизор будет занимать мало места, и не будет мешать людям, которые находятся в кухне.

Не стоит ставить телевизор на холодильное оборудование, микроволновку или на машинку для стирки белья, так как в таких случаях, это может привести к преждевременной поломке устройства.

Использование таких креплений, позволит с комфортом смотреть телевизор, с разных мест на кухне. Стоимость подобных креплений дороже, чем обычных, но удобство во время эксплуатации оправдывает потраченные финансовые средства.
Жидкокристаллические телевизоры (LCD)
На сегодняшний день данный тип телевизора является самым лучшим, самым перспективным. Появились же они более 30 лет назад, в конце XX века. Затем появились и жидкокристаллические мониторы, которые стоят гораздо дешевле ЖК-телевизоров, потому что у монитора есть недостаток в четкости разрешения, достигаемой с помощью использования системы цифрового сглаживания.
Устройство: Структура жидкокристаллического дисплея является многослойной. Есть две прозрачные состоящие из чистого стекла панели, между которыми располагается слой жидких кристаллов. На стекле панелей находятся TFT и прозрачные электроды. Изображение появляется за счёт того, что свет от лампы проходит через специальную жидкокристаллическую матрицу, на которую в свою очередь поступают электрические разряды с очень высокой частотой. Матрица из-за этого для каждого пикселя меняет степень его прозрачности, а цвет появляется благодаря специальным фильтрам. В матрице есть микротранзисторы, которые открывают и закрывают ту или иную ячейку каждого пикселя цветного изображения. Всего этих ячеек три для пикселя. Их количество обусловлено тремя основными цветами. Отличием от кинескопов является то, что изображение представляется цифровым способом. На экране ЖК-телевизора все точки светятся одновременно, то есть мы видим реальную картинку сразу целиком. Так воспринимать информацию человеку гораздо легче, он меньше устаёт.
Достоинства: 1) угол обзора — 170 градусов; 2) бывают и аналоговые, и цифровые ЖК-телевизоры; 3) в некоторых моделях существует поддержка HDTV; 4) низкое электропотребление; 5) толщина телевизора маленькая, что позволяет его даже вешать на стену (потолок); 6) плоский экран; 7) какими бы не были вышеописанные недостатки, но изображение очень качественное; 8) красивый дизайн; 9) размер экрана может быть очень большим, но в то же время выпускаются и маленькие (от 15″); 10) совместим и не портиться при работе с компьютером; 11) источник света аналогичен солнечному, так как жидкие кристаллы, находящиеся в телевизоре, применяются в твёрдом состоянии; 12) к экрану не притягивается пыль; 13) большой срок службы. Примерно больше чем 30 лет.
Недостатки: 1) очень большая стоимость; 2) недостаточное быстродействие; для того, чтобы точка на экране приобрела новый цвет необходим достаточно большой период времени – поэтому если изображения меняются очень часто, то появляется эффект смазывания картинки и наши глаза довольно быстро устают; 3) неидеальная цветопередача; 4) существует неравномерность яркости; 5) от угла просмотра зависит яркость и оттенок изображения; хоть он и составляет 6) 170 градусов, но качество картинки достигается при меньшем угле обзора, чем у обычного кинескопа; 7) «порча», «выгорание» пикселей. Результатом данного процесса являются точки на экране, которые горят постоянно; 8) отдельного внимания требует чёткость таких телевизоров. Достаточно высокая она только при физическом разрешении. Следует отменить, что при другом разрешении чёткость меньше, чем у обычных кинескопов. Разрешение жидкокристаллического телевизора примерно составляет 925*625. А у LCD-матрицы обычно либо 1024*768 или 1280*1024. Мы видим, что разрешения не совпадают. Как следствие появляются лишние точки на экране или, наоборот, пропадают.





