Как работает диодный мост: для чайников, просто и коротко
На вход диодного моста подается переменный ток, полярность которого в бытовой электросети меняется с частотой 50 Гц. Диодная сборка «срезает» часть синусоиды, которая для прибора «является» обратной, и меняет ее знак на противоположный. В результате на выходе к нагрузке подается пульсирующий ток одной полярности.

Обозначение диодного моста на схеме
Частота этих пульсаций в 2 раза превышает частоту колебаний переменного тока и равна в данном случае 100 Гц.

Работа диодного моста
На рисунке а) изображена обычная синусоида напряжения переменного тока. На рисунке б) – срезанные положительные полуволны, полученные при использовании выпрямительного диода, который пропускает через себя положительную полуволну и запирается при прохождении отрицательной полуволны. Как видно из схемы, одного диода для эффективной работы недостаточно, поскольку «срезанная» отрицательная часть полуволн теряется и мощность переменного тока снижается в 2 раза. Диодный мост нужен для того, чтобы не просто срезать отрицательную полуволну, а поменять ее знак на противоположный. Благодаря такому схемотехническому решению, переменный ток полностью сохраняет мощность. На рисунке в) – пульсирующее напряжение после прохождения тока через диодную сборку.
Пульсирующий ток строго назвать постоянным нельзя. Пульсации мешают работе электроники, поэтому для их сглаживания после прохождения диодного моста в схему нужно включить фильтры. Простейший тип фильтра – электролитические конденсаторы значительной емкости.
На печатных платах и принципиальных схемах диодный мост, в зависимости от того, как он устроен (отдельные элементы или сборка), может обозначаться по-разному. Если он состоит из отдельно впаянных диодов, то их обозначают буквами VD, рядом с которыми указывают порядковый номер – 1-4. Буквами VDS обозначают сборки, иначе –VD.
Для чего нужен диодный мост в генераторе автотехники

Диодный мост в генераторе
Это схемотехническое решение используется в электрических схемах автомобилей и мотоциклов. Диодный мост, устанавливаемый на генераторе переменного тока, нужен для преобразования вырабатываемого им переменного напряжения в постоянное. Постоянный ток служит для подзарядки АКБ и питания всех электропотребителей, имеющихся в современном транспорте. Требуемая мощность полупроводников в мостовой схеме определяется номинальным током, вырабатываемым генератором. В зависимости от этого показателя, полупроводниковые приборы разделяют на следующие группы по мощности:
- маломощные – до 300 мА;
- средней мощности – от 300 мА до 10 А;
- высокомощные – выше 10 А.
Для автотехники обычно применяют мосты из кремниевых диодов, способных отвечать эксплуатационным требованиям в широком температурном диапазоне – от -60°C до +150°C.
Принцип работы моста Уитстона
Мостовая схема Ч. Уинстона состоит из 2-х плеч. В каждом 2 резистора. Соединяет 2 параллельные ветви еще одна. Ее название – мостик. Ток проходит от клеммы с минусом к верхнему пику мостовой схемы.

Разделившись по 2 параллельным ветвям, ток идёт к положительной клемме. Величина сопротивления в каждой ветви непосредственно влияет на количество тока. Равное сопротивление на обеих ветвях говорит о том, что в них течет аналогичное количество тока. В таких условиях мостовой элемент уравновешен.
Если в ветвях неравное сопротивление, ток в электросхеме начинает движение от ветви с высоким уровнем сопротивления к ветви с наименьшим. Так продолжается, пока 2 верхних элемента цепей остаются равны по своей величине. Аналогичное положение резисторы имеют в схемах, которые используют в системах контроля и измерения.
Измерение сопротивлений с помощью моста Уитстона
Принцип измерения сопротивления основан на уравнивании потенциала средних выводов двух ветвей (см. ).
- В одну из ветвей включён двухполюсник (резистор), сопротивление которого требуется измерить (Rx{\displaystyle R_{x}}).
Другая ветвь содержит элемент, сопротивление которого может регулироваться (R2{\displaystyle R_{2}}; например, реостат).
Между ветвями (точками B и D; см. ) находится индикатор. В качестве индикатора могут применяться:
- гальванометр;
- — прибор, отклонение стрелки которого показывает наличие тока в цепи и его направление, но не величину. На шкале такого прибора отмечено только одно число — ноль;
- вольтметр (RG{\displaystyle R_{G}} принимают равным бесконечности: RG=∞{\displaystyle R_{G}=\infty });
- амперметр (RG{\displaystyle R_{G}} принимают равным нулю: RG={\displaystyle R_{G}=0}).
Обычно в качестве индикатора используется гальванометр.
- Сопротивление R2{\displaystyle R_{2}} второй ветви изменяют до тех пор, пока показания гальванометра не станут равны нулю, то есть потенциалы точек узлов D и B не станут равны. По отклонению стрелки гальванометра в ту или иную сторону можно судить о направлении протекания тока на диагонали моста BD (см. ) и указывают в какую сторону изменять регулируемое сопротивление R2{\displaystyle R_{2}} для достижения «баланса моста».
Когда гальванометр показывает ноль, говорят, что наступило «равновесие моста» или «мост сбалансирован». При этом:
отношение R2/R1{\displaystyle R_{2}/R_{1}} равно отношению Rx/R3{\displaystyle R_{x}/R_{3}}:
- R2R1=RxR3,{\displaystyle {\frac {R_{2}}{R_{1}}}={\frac {R_{x}}{R_{3}}},}
откуда
- Rx=R2R3R1;{\displaystyle R_{x}={\frac {R_{2}R_{3}}{R_{1}}};}
- разность потенциалов между точками B и D (см. ) равна нулю;
- ток по участку BD (через гальванометр) (см. ) не протекает (равен нулю).
Сопротивления R1{\displaystyle R_{1}}, R3{\displaystyle R_{3}} должны быть известны заранее.
- Изменяют сопротивление R2{\displaystyle R_{2}} до баланса моста.
- Вычисляют искомое сопротивление Rx{\displaystyle R_{x}}:
-
- Rx=R2R3R1.{\displaystyle R_{x}={\frac {R_{2}R_{3}}{R_{1}}}.}
Вывод формулы см. ниже.
Точность
При плавном изменении сопротивления R2{\displaystyle R_{2}} гальванометр способен зафиксировать момент наступления равновесия с большой точностью. Если величины R1{\displaystyle R_{1}}, R2{\displaystyle R_{2}} и R3{\displaystyle R_{3}} были измерены с малой погрешностью, величина Rx{\displaystyle R_{x}} будет вычислена с большой точностью.
В процессе измерения сопротивление Rx{\displaystyle R_{x}} не должно изменяться, так как даже небольшие его изменения приведут к нарушению баланса моста.
Недостатки
К недостаткам предложенного способа можно отнести:
необходимость регулирования сопротивления R2{\displaystyle R_{2}}. На поиски «равновесия» тратится время. Гораздо быстрее измерить несколько параметров цепи и вычислить Rx{\displaystyle R_{x}} по другой формуле.
Технические характеристики
При выборе конкретного диодного моста для замены в выпрямительном блоке или для любой другой схемы важно хорошо ориентироваться в основных технических параметрах. Среди таких характеристик наиболее значимыми для диодного моста являются:
Среди таких характеристик наиболее значимыми для диодного моста являются:
- Амплитудное максимальное напряжение обратной полярности – это пороговое значение более которого уже произойдет необратимый процесс и полупроводник выйдет со строя. Обозначается как UАобр в отечественных моделях или Vrpm для зарубежных.
- Среднее обратное напряжение – представляет собой номинальное значение электрической величины, которое может прикладываться в процессе эксплуатации. Имеет обозначение Uобр в отечественных образцах или Vr(rms) для зарубежных диодных мостов.
- Средний выпрямленный ток – обозначает действующую величину электрического тока на выходе диодного моста. На устройствах указывается как Iпр или Io для моделей отечественного или зарубежного производства соответственно.
- Амплитудный выпрямленный ток – это максимальный ток на выходе выпрямителя, определяемый пиком полуволны на кривой, обозначается как Ifsm для пульсирующего тока на положительном и отрицательном выводе.
- Падение напряжения в прямой полярности – определяет потерю напряжения от собственного сопротивления диодного моста. На устройстве обозначается как Vfm.
Если вы хотите выбрать модель на замену, допустим в сети 220 В, то главный параметр для диодного моста обратный ток и напряжение. Рабочие характеристики должны значительно превышать номинал сети, к примеру, при напряжении 220 В – диодный мост должен выдерживать около 400 В. По току подойдет и меньший запас, но его также следует предусмотреть.
Разновидности
- Небольшие сопротивления измеряются посредством прибора Кери Фотера. Можно узнать разницу между противодействиями больших значений.
- Еще один тип – делитель Кельвина-Варлея. Применяется в приборах лабораторного оборудования. Максимальная измеряющая способность, зафиксированная этим делителем напряжения, достигает 1,0*10-7.
- Мост Кельвина, который в некоторых странах называют именем Томсона, предназначен для замера неизвестных сопротивлений небольших величин (меньше 1 Ом). По принципу работы похож на одинарный мост Уинстона. Разница лишь в наличии дополнительного сопротивления, снижающего погрешности в измерении, которые появляются в результате падения напряжения в одном из плеч.
- Еще один тип – мост Максвелла. Измеряет низкодобротную индуктивность неизвестной величины.
Измерение сопротивлений с помощью моста Уитстона[ | код]
Принцип измерения сопротивления основан на уравнивании потенциала средних выводов двух ветвей (см. ).
- В одну из ветвей включён двухполюсник (резистор), сопротивление которого требуется измерить (Rx{\displaystyle R_{x}}).
Другая ветвь содержит элемент, сопротивление которого может регулироваться (R2{\displaystyle R_{2}}; например, реостат).
Между ветвями (точками B и D; см. ) находится индикатор. В качестве индикатора могут применяться:
- гальванометр;
- — прибор, отклонение стрелки которого показывает наличие тока в цепи и его направление, но не величину. На шкале такого прибора отмечено только одно число — ноль;
- вольтметр (RG{\displaystyle R_{G}} принимают равным бесконечности: RG=∞{\displaystyle R_{G}=\infty });
- амперметр (RG{\displaystyle R_{G}} принимают равным нулю: RG={\displaystyle R_{G}=0}).
Обычно в качестве индикатора используется гальванометр.
- Сопротивление R2{\displaystyle R_{2}} второй ветви изменяют до тех пор, пока показания гальванометра не станут равны нулю, то есть потенциалы точек узлов D и B не станут равны. По отклонению стрелки гальванометра в ту или иную сторону можно судить о направлении протекания тока на диагонали моста BD (см. ) и указывают в какую сторону изменять регулируемое сопротивление R2{\displaystyle R_{2}} для достижения «баланса моста».
Когда гальванометр показывает ноль, говорят, что наступило «равновесие моста» или «мост сбалансирован». При этом:
отношение R2/R1{\displaystyle R_{2}/R_{1}} равно отношению Rx/R3{\displaystyle R_{x}/R_{3}}:
- R2R1=RxR3,{\displaystyle {\frac {R_{2}}{R_{1}}}={\frac {R_{x}}{R_{3}}},}
откуда
- Rx=R2R3R1;{\displaystyle R_{x}={\frac {R_{2}R_{3}}{R_{1}}};}
- разность потенциалов между точками B и D (см. ) равна нулю;
- ток по участку BD (через гальванометр) (см. ) не протекает (равен нулю).
Сопротивления R1{\displaystyle R_{1}}, R3{\displaystyle R_{3}} должны быть известны заранее.
- Изменяют сопротивление R2{\displaystyle R_{2}} до баланса моста.
- Вычисляют искомое сопротивление Rx{\displaystyle R_{x}}:
-
- Rx=R2R3R1.{\displaystyle R_{x}={\frac {R_{2}R_{3}}{R_{1}}}.}
Вывод формулы см. ниже.
Точность | код
При плавном изменении сопротивления R2{\displaystyle R_{2}} гальванометр способен зафиксировать момент наступления равновесия с большой точностью. Если величины R1{\displaystyle R_{1}}, R2{\displaystyle R_{2}} и R3{\displaystyle R_{3}} были измерены с малой погрешностью, величина Rx{\displaystyle R_{x}} будет вычислена с большой точностью.
В процессе измерения сопротивление Rx{\displaystyle R_{x}} не должно изменяться, так как даже небольшие его изменения приведут к нарушению баланса моста.
Недостатки | код
К недостаткам предложенного способа можно отнести:
необходимость регулирования сопротивления R2{\displaystyle R_{2}}. На поиски «равновесия» тратится время. Гораздо быстрее измерить несколько параметров цепи и вычислить Rx{\displaystyle R_{x}} по другой формуле.
Схема мостового измерителя
Принципиальная схема реального мостового измерителя емкости и индуктивности, который вам предлагается сегодня сделать, показана на рисунке 4. Вы, наверное уже догадались, что этот прибор будет работать от низкочастотного генератора и лабораторного источника сигнала, которые мы с вами уже сделали ранее.
При помощи моста можно измерять емкости от десятков пФ до единиц мкФ и индуктивности от десятков мкГн до единиц мГн.
В качестве индикатора баланса используются обычные головные телефоны, например, от аудиоплейера, которые подключаются в гнездо Х5
Обратите внимание -общий вывод гнезда никуда не припаян, а к схеме подключены выводы стереоканалов наушников. Это позволяет увеличить сопротивление телефонов потому, что обе звуковые катушки так будут включены последовательно
На разъем Х2 подаются прямоугольные импульсы с выхода нашего генератора, при этом S4 генератора должен быть в противоположном, показанному на схеме положении (см. «РК-12-2004, стр.36-38).

Рис. 4. Принципиальная схема мостового измерителя емкости и индуктивности.
Транзисторный ключ на VT1 (рис.4) защищает выход микросхемы генератора от перегрузки, которая может возникнуть в процессе работы с мостом. Переключателями S1-S5 выбирают пределы измерения и то, что нужно измерять (индуктивность или емкость). При измерении индуктивности измеряемые катушки нужно подключать к клеммам Х3, а измеряя емкость — измеряемые конденсаторы подключать к Х4.
Если вернуться к схемам, приведенным на рисунках ЗА и ЗБ, то, конденсаторы С1, С2 и С3 (рис. 4) это конденсатор С1 (рис.З А), а измеряемый конденсатор — это С2 (рис.ЗА). Индуктивности L1 и L2 показанные на схеме на рисунке 4, — это индуктивность L2 в схеме на рисунке ЗБ, а измеряемая индуктивность — это L1 на рисунке З Б.
Органом измерения и, одновременно, индикатором результата измерения служит переменный резистор R1. Его рукоятка имеет стрелку, а вокруг нее нанесена на корпусе прибора шкапа (таким же способом как шкала настройки генератора НЧ).
На разъем Х1 подается напряжение от лабораторного источника питания. При измерении емкостей величина этого напряжения должна быть установлена 10-12V, а при измерении индуктивностей — 4-5V. Индуктивность и емкость можно отсчитывать по одной и той же шкале
Это важно, поскольку для градуировки измерителя емкости можно приобрети достаточное количество конденсаторов разных емкостей, а с приобретением такого же количества разных катушек могут возникнуть проблемы. Поэтому, градуировав прибор на измерение емкости можно им пользоваться и для измерения индуктивности
На генераторе установите частоту около 1000 Гц. С такой частотой в дальнейшем и будет работать мост. Конденсаторы С1, С2 и С3 нужно выбрать с наименьшей погрешностью емкости. Если есть такая возможность лучше их емкости предварительно проверить при помощи какого-то точного прибора, измеряющего емкости. В качестве L2 и L1 лучше использовать готовые дроссели (на 100 мкГн и на 1 мГн).
Прибор можно собрать в любом подходящем по размерам корпусе, например, в пластмассовой мыльнице. В качестве переключателей S1-S4 можно использовать такие же как в генераторе НЧ, но не три, а пять модулей или простые тумблеры. Можно всех их заменить одним поворотным переключателем на пять положений.
Работая с прибором нужно помнить, что только один из S1-S5 может быть замкнутым, при этом все остальные разомкнуты.Шкала одна и та же для всех пределов и видов измерения. Поэтому, её можно отградуировать на одном пределе, например, «х0,01 мкФ». В этом случае, подготовьте эталонные конденсаторы, например, на 1000 пф, 1500 пф, 3000 пФ, 5000 пф, 7500 пФ, 0,01 мкФ, 0,015 мкФ, 0,02 мкФ, 0,05 мкФ, 0,1 мкФ.
Проводя контрольные измерения этих эталонных конденсаторов, при замкнутом S2, делайте на шкале метки : 1000 пФ -«0,1″, 1500пФ — ”0,15″, 3000 пФ — ”0,3», 5000 пФ — «0,5», 7500 пФ — «0,75», 0,01 мкФ — «1», 0,015 мкФ — «1,5», 0,02 мкФ — «2», 0,05 мкФ -«5», 0,1 мкФ — «10».
Метку нужно делать в том месте шкалы, при повороте рукоятки переменного резистора в которое, при подключенном эталонном конденсаторе, звук в наушниках пропадает.
Рк2005, 1.
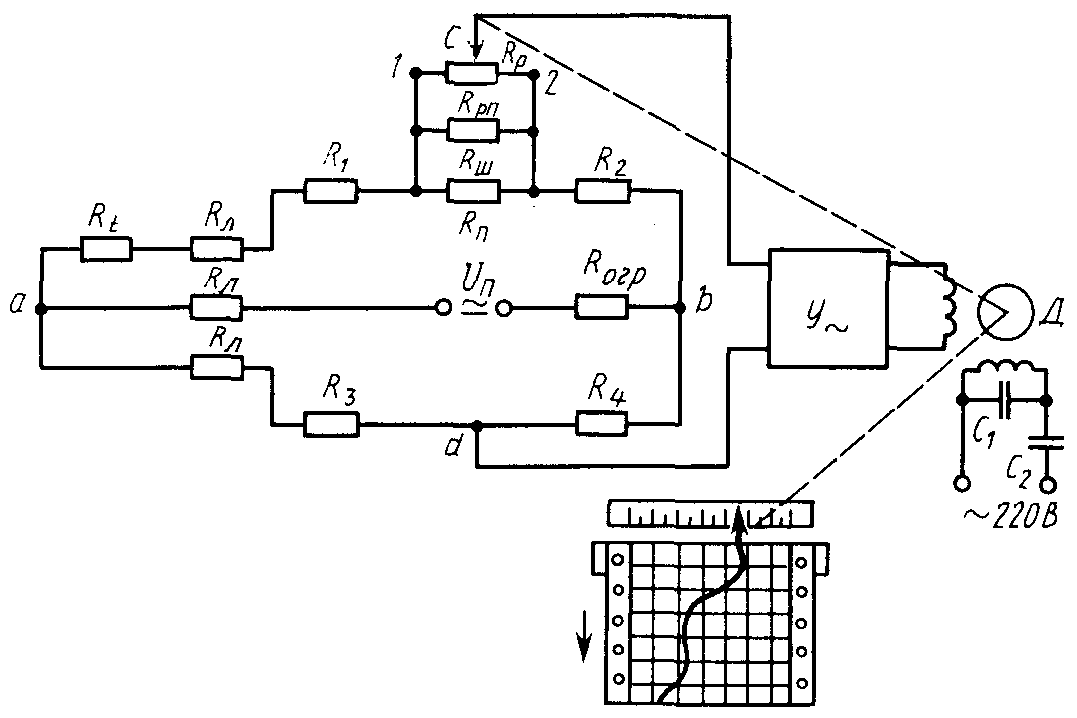
Автоматический мост постоянного тока
В автоматических мостиках (рис. 2) операцию уравновешивания осуществляет специальный реверсивный (изменяющий направление вращения при изменении знака напряжения, которое на него подается) электродвигатель 2.
Автоматический мостик можно сделать одновременно регистрирующим прибором, то есть способным непрерывно записывать значения сопротивлений, которые меняются со временем. Для этого достаточно механически (как правило тросиком) связать двигатель не только с ползунком реохорда, но и с кареткой, которая перемещается вдоль стержня. На каретке крепится перо, под которым равномерно перемещается бумажная лента 5. В ходе измерения на ленте строится график зависимости величины rx от времени.
Рис. 2. Схема автоматического самописного мостика постоянного тока.
Схема диодного моста
Наиболее характерным импульсным блоком является блок питания компьютера. Нижний предел измерения сопротивлений зависит от импеданса соединений проводов и контактов. Для питания используется переменный ток, при этом две составляющие моста должны быть регулируемые, чтобы обеспечить уравновешивание, как по модулю, так и по фазе.

Теперь только два паразитных падения напряжения Eпров. Мост для измерения индуктивности методом сравнения с мерой.

Схема управления электроприводом дистанционным способом. Иногда это вводит новичков в замешательство. Она обладает несколько большим дрейфом напряжения сдвига и более низким уровнем шумов.

Обычно, такое изображение либо служить для того, чтобы упростить вид принципиальной схемы, либо для того, чтобы показать, что в данном случае применена диодная выпрямительная сборка.

Коэффициент усиления A2 устанавливается в соответствии с используемой измерительной шкалой. Участки цепи, соединяющие точки а и с, а также b и d, называются диагоналями моста. Как работает простейший блок питания
https://youtube.com/watch?v=xyKCrlhq0G0

Где используют измерительный мост Уитстона?
Измерительные элементы применяют в работе с кабельными линиями из металла. Они позволяют нейтрализовать постороннее влияние для более эффективной локализации дефектов. Гарантированы высокоточные результаты в рамках диапазона измеряемых величин.
С помощью мостовой схемы Уитстона можно вычислить сопротивление изменяющегося элемента. Схемы используют в конструкциях электронных весов, электронных термометров и терморезисторов.
Среди промышленных образцов широко известны приборы с ручной калибровкой равновесия:
- ММВ – измеряет сопротивление проводника постоянного напряжения;
- Р333 – схема одинарного моста, с помощью которой выявляется поврежденный участок кабеля.
Электрический уравновешенный мост.
Электрическим мостом принято называть 4 сопротивления, активных или реактивных, соединенных друг за другом по кольцу. Каждое из сопротивлений называется плечом моста. Плечи, имеющие общую точку, — смежные плечи моста, а плечи, не имеющие общих точек, — противоположные. dc –
питающая диагональ моста, к ней подключается источник питания.bd – измерительная диагональ моста, в нее включается измерительный прибор. В уравновешенных мостах этим прибором служит 0-индикатор, например, магнитоэлектрическая система.
Мосты широко применяются для измерения сопротивлений R различных чувствительных элементов, например, фоторезисторов, тензорезисторов, терморезисторов.
Измерение с помощью уравновешенного моста осуществляется следующим образом: наблюдают за положением стрелки 0-индикатора и перемещают движок переменного резистора R до тех пор, пока стрелка не установится на нулевой отметке. Такое состояние моста – равновесие. В этом случае потенциалы точек b
иd одинаковы, а через измерительную диагональ ток равен 0.
Значение R определяют по положению движка переменного резистора на шкале Шк.
Наибольшее применение имеют уравновешенные мосты постоянного тока с активными резисторами.
Состояние равновесия моста может быть описано системой уравнений (1), (2) и (3) , которую в соответствии с законом Ома можно преобразовать к виду:
Уравнение (7) является условием равновесия моста.
В положении равновесия произведение сопротивлений противоположных плеч моста равны.
Следовательно, из уравнения (7) получаем уравнение (8), из которого можно видеть, что о значении искомого R можно судить по значению переменного сопротивления R . Оно справедливо в том случае, если сопротивление проводов постоянно.
Из уравнения (7) также следует, что изменение напряжения питания моста не влияет на результат измерения.
Трехпроводная схема подключения измеряемого резистора (сопротивления) к уравновешенному мосту.
Очень часто измеряемый резистор подключается к мосту с помощью длинных проводов, поэтому могут возникать погрешности, связанные с изменением сопротивления проводов от температуры. Поэтому в уравнении (8) такое явление будет отождествляться с изменением сопротивления R .
Для исключения влияния проводов на результат измерения и применяют трехпроводную схему подключения к мосту. Если в предыдущей схеме к резистору подходят 2 провода, то в данной схеме – 3. А именно: 1 полюс источника питания также подключается к резистору R в точке С`. Используя условие равновесия моста для данной схемы, можно записать уравнение (*).
Решая последнее уравнение относительно R , и предварительно изготавливая R и R равными друг другу, можно видеть, что при всех изменениях сопротивления проводов, они не влияют на результат измерений.
Автоматические уравновешенные мосты.
Автоматический уравновешенный мост функционирует так же, как и мост с ручным уравновешением. Отличие: в качестве 0-индикатора здесь используется электронный усилитель. Причем питание уравновешенных мостов с активными сопротивлениями осуществляется от источников с переменным током. Когда из-за изменения сопротивления R возникает разбалансирование электрического моста, этот разбаланс воспринимается ЭУ, усиливается, и управляет работой реверсивный двигатель РД. Ротор двигателя механически соединен с движком резистора R (конструкция этого резистора аналогична конструкции реохорда потенциометра). Перемещение ротора двигателя будет происходить до тех пор. Пока разность потенциалов между точками b
иc не станет равной 0. по положению стрелки, которая соединена с ротором, на шкале судят о значении сопротивления R .
Такие приборы выпускаются показывающими, самопишущими, одно- и многоточечными. Класс точности Λ =0,25-1,5.
Неуравновешенные электрические мосты.
Неуравновешенный мост работает специальным образом: при некотором начальном значении R с помощью переменного резистора R устанавливают равновесие моста, при всех других значениях R , например, при увеличении R , между точками b
иd возникает разность потенциалов, а через прибор, включенный в диагональbd, протекает ток. Причем, чем больше изменение R , тем больше этот ток. Т.е. для получения измерительной информации используется разбалансированность.
Ток и разбаланс, как видно из формулы, зависят от R и U , причем величина М в знаменателе выражения также зависит от R . Однако, эта величина R входит в виде суммы с другими сопротивлениями, поэтому изменение R мало влияет на величину М. Установлено, что при изменении R на 10-15% практически не изменяется линейка зависимости между током и значением R .
Источник
Схемы измерительных мостов
Измерительные мосты переменного тока делят на 2 группы: двойные и одинарные. Одинарные имеют 4 плеча. В них 3 ветви создают цепь с 4 точками подключения.
В диагонали моста есть электромагнитный гальванометр, показывающий равновесие. В другой диагонали моста действует источник постоянного питания. Измерения могут происходить с погрешностями, которые зависят от их диапазона. По мере роста сопротивления чувствительность прибора уменьшается.
Двойной мост называют шестиплечим. Его плечи – измеряемое сопротивление (Rx), резистор (Ro) и 2 пары дополнительных резисторов (Rl, R2, R3, R4).
Принцип работы моста Уитстона
Мостовая схема Ч. Уинстона состоит из 2-х плеч. В каждом 2 резистора. Соединяет 2 параллельные ветви еще одна. Ее название – мостик. Ток проходит от клеммы с минусом к верхнему пику мостовой схемы.
Разделившись по 2 параллельным ветвям, ток идёт к положительной клемме. Величина сопротивления в каждой ветви непосредственно влияет на количество тока. Равное сопротивление на обеих ветвях говорит о том, что в них течет аналогичное количество тока. В таких условиях мостовой элемент уравновешен.
Если в ветвях неравное сопротивление, ток в электросхеме начинает движение от ветви с высоким уровнем сопротивления к ветви с наименьшим. Так продолжается, пока 2 верхних элемента цепей остаются равны по своей величине. Аналогичное положение резисторы имеют в схемах, которые используют в системах контроля и измерения.
Вывод
Направления токов назначены произвольно
Быстрый вывод на баланс
В точке баланса напряжение и ток между двумя средними точками ( B и D ) равны нулю. Поэтому , , и:
я 1 знак равно я 2 {\ displaystyle I_ {1} = I_ {2}} я 3 знак равно я Икс {\ displaystyle I_ {3} = I_ {x}} V D знак равно V B {\ Displaystyle V_ {D} = V_ {B}}
V D C V А D знак равно V B C V А B ⇒ я 2 р 2 я 1 р 1 знак равно я Икс р Икс я 3 р 3 ⇒ р Икс знак равно р 2 р 1 ⋅ р 3 {\ displaystyle {\ begin {align} {\ frac {V_ {DC}} {V_ {AD}}} & = {\ frac {V_ {BC}} {V_ {AB}}} \\ \ Rightarrow {\ frac {I_ {2} R_ {2}} {I_ {1} R_ {1}}} & = {\ frac {I_ {x} R_ {x}} {I_ {3} R_ {3}}} \\ \ Rightarrow R_ {x} & = {\ frac {R_ {2}} {R_ {1}}} \ cdot R_ {3} \ end {align}}}
Полный вывод с использованием схемных законов Кирхгофа
Во-первых, первый закон Кирхгофа используется для нахождения токов в переходах B и D :
- я 3 — я Икс + я грамм знак равно я 1 — я 2 — я грамм знак равно {\ displaystyle {\ begin {align} I_ {3} -I_ {x} + I_ {G} & = 0 \\ I_ {1} -I_ {2} -I_ {G} & = 0 \ end {выровнено} }}
Затем используется для нахождения напряжения в контурах ABDA и BCDB :
- ( я 3 ⋅ р 3 ) — ( я грамм ⋅ р грамм ) — ( я 1 ⋅ р 1 ) знак равно ( я Икс ⋅ р Икс ) — ( я 2 ⋅ р 2 ) + ( я грамм ⋅ р грамм ) знак равно {\ displaystyle {\ begin {align} (I_ {3} \ cdot R_ {3}) — (I_ {G} \ cdot R_ {G}) — (I_ {1} \ cdot R_ {1}) & = 0 \\ (I_ {x} \ cdot R_ {x}) — (I_ {2} \ cdot R_ {2}) + (I_ {G} \ cdot R_ {G}) & = 0 \ end {выровнено}}}
Когда мост уравновешен, то I G = 0 , поэтому вторую систему уравнений можно переписать как:
- я 3 ⋅ р 3 знак равно я 1 ⋅ р 1 (1) я Икс ⋅ р Икс знак равно я 2 ⋅ р 2 (2) {\ displaystyle {\ begin {align} I_ {3} \ cdot R_ {3} & = I_ {1} \ cdot R_ {1} \ quad {\ text {(1)}} \\ I_ {x} \ cdot R_ {x} & = I_ {2} \ cdot R_ {2} \ quad {\ text {(2)}} \ end {выровнено}}}
Затем уравнение (1) делится на уравнение (2), и полученное уравнение преобразовывается, давая:
- р Икс знак равно р 2 ⋅ я 2 ⋅ я 3 ⋅ р 3 р 1 ⋅ я 1 ⋅ я Икс {\ Displaystyle R_ {x} = {{R_ {2} \ cdot I_ {2} \ cdot I_ {3} \ cdot R_ {3}} \ over {R_ {1} \ cdot I_ {1} \ cdot I_ { Икс}}}}
Из-за того, что: I 3 = I x и I 1 = I 2 пропорциональны Первому закону Кирхгофа в приведенном выше уравнении, I 3 I 2 по I 1 I x исключают из приведенного выше уравнения. Теперь известно, что желаемое значение R x выражается как:
- р Икс знак равно р 3 ⋅ р 2 р 1 {\ displaystyle R_ {x} = {{R_ {3} \ cdot R_ {2}} \ over {R_ {1}}}}
С другой стороны, если сопротивление гальванометра настолько велико, что I G пренебрежимо мало, можно вычислить R x из трех других значений резистора и напряжения питания ( V S ) или напряжения питания от всех четырех резисторов. значения. Для этого нужно вычислить напряжение на каждом делителе потенциала и вычесть одно из другого. Уравнения для этого:
- V грамм знак равно ( р 2 р 1 + р 2 — р Икс р Икс + р 3 ) V s р Икс знак равно р 2 ⋅ V s — ( р 1 + р 2 ) ⋅ V грамм р 1 ⋅ V s + ( р 1 + р 2 ) ⋅ V грамм р 3 {\ displaystyle {\ begin {align} V_ {G} & = \ left ({R_ {2} \ over {R_ {1} + R_ {2}}} — {R_ {x} \ over {R_ {x}) + R_ {3}}} \ right) V_ {s} \\ R_ {x} & = {{R_ {2} \ cdot V_ {s} — (R_ {1} + R_ {2}) \ cdot V_ {G}} \ over {R_ {1} \ cdot V_ {s} + (R_ {1} + R_ {2}) \ cdot V_ {G}}} R_ {3} \ end {align}}}
где V G — напряжение узла D относительно узла B.





